El mantenimiento del embrague consiste en comprobar y ajustar periódicamente la alimentación del embrague, así como apretar las conexiones de sujeción del amplificador neumático y comprobar el apriete del accionamiento

Además, de acuerdo con el mapa tecnológico, en el embrague se lubrican los soportes del eje de la horquilla de desembrague y el cojinete del embrague de desembrague.

Para evitar que entre lubricante en la carcasa del embrague, a la hora de lubricar estos puntos no debes realizar más de tres pasadas con una jeringa.

Accionamiento del mecanismo de embrague: 1 - pedal; 2 - cilindro principal; 3, 10 - topes inferior y superior; 4 - soporte; 5 - tanque de compensación; 6 – tubería hidráulica; 7 - palanca; 8 - empujador de pistón; 9 - dedo excéntrico; 11 - resorte tensor; 12 - enchufe; 13 - tubería; 14 - válvula de liberación de aire; 15 - tuerca de ajuste esférica; 16 – empujador del pistón de refuerzo hidráulico neumático; 17 - funda protectora; 18 - refuerzo hidráulico neumático; Yo - aire comprimido

El ajuste de la transmisión del embrague implica verificar y configurar el recorrido libre del pedal del embrague, el recorrido libre del embrague de liberación del embrague y el recorrido completo del empujador de refuerzo neumático.

El juego libre del embrague de desembrague se verifica moviendo manualmente la palanca del eje de la horquilla desde la tuerca esférica de ajuste 15 (ver figura) del empujador de refuerzo neumático (con el resorte desconectado de la palanca).

Si el juego libre de la palanca, medido en un radio de 90 mm, es inferior a 3 mm, se debe ajustar con una tuerca empujadora esférica a 3,7-4,6 mm, lo que corresponde a un juego libre del desembrague. de 3,2-4 mm.

La carrera completa del empujador de refuerzo neumático debe ser de al menos 25 mm.

Compruebe la carrera completa del empujador presionando el pedal del embrague hasta el fondo.

Con un valor de carrera menor no se garantiza el desacople completo del embrague.

Si el recorrido del empujador es insuficiente, comprobar el juego libre del pedal del embrague, la cantidad de líquido en el depósito del cilindro maestro del embrague y, si es necesario, bombear el sistema hidráulico del embrague.

El juego libre del pedal, correspondiente al inicio de funcionamiento del cilindro maestro, debe ser de 6-15 mm. Mídelo en la parte media de la zona del pedal del embrague.

Si el juego libre supera los límites especificados anteriormente, ajuste el espacio “B” entre el pistón y el empujador del pistón del cilindro maestro con un pasador excéntrico 9, que conecta el ojo superior del empujador 8 a la palanca del pedal 7.

Al ajustar la separación, el resorte de tensión 11 debe presionar el pedal del embrague contra el tope superior 10.

Al girar el pasador excéntrico de la transmisión, asegúrese de que el movimiento del pedal desde el tope superior hasta el momento en que toca el empujador del pistón sea de 6 a 15 mm, después de lo cual se aprieta y fija la tuerca almenada.</p >

El recorrido total del pedal del embrague debe ser de 185-195 mm.

Las principales averías del embrague y su accionamiento son un acoplamiento incompleto (patinaje del embrague), un desacoplamiento incompleto (ruido al cambiar de marcha), una mala suavidad del embrague y un mayor esfuerzo del pedal al desembragar.

El acoplamiento incompleto del embrague y, como consecuencia, su deslizamiento bajo carga se produce cuando los resortes de presión se debilitan, no hay juego entre el anillo de empuje de las palancas de desembrague y el extremo del cojinete del embrague de desembrague, lubricación y significativa desgaste de los discos conducidos.

Para eliminar este mal funcionamiento, es necesario ajustar el juego libre del embrague, comparándolo con el juego libre de la palanca del eje de la horquilla del embrague, como se indicó anteriormente.

Si el lubricante entra en contacto con las superficies de fricción, hay un desgaste severo o destrucción de los forros de fricción, es necesario quitar el embrague del motor y reemplazar los forros de fricción o los conjuntos de discos impulsados.

El desacoplamiento incompleto del embrague (el embrague “conduce”) provoca dificultades para engranar los engranajes en la caja, ya que la transmisión no proporciona la carrera completa requerida de la palanca del eje de la horquilla del embrague.

Para eliminar el mal funcionamiento, es necesario lograr el recorrido completo de la palanca del eje de la horquilla del embrague, como se describe anteriormente.

El desacoplamiento incompleto del embrague también ocurre cuando los discos impulsados ​​están deformados o sus cubos están atascados en las estrías del eje de entrada de la caja de cambios, así como cuando entra aire en el sistema de accionamiento hidráulico, fuga del fluido de trabajo y un aumento del juego libre del pedal del embrague.

Para eliminar el mal funcionamiento, es necesario eliminar el aire del sistema hidráulico; comprobar y eliminar fugas de fluido de trabajo; comprobar y, si es necesario, ajustar el juego libre del pedal del embrague.

Si aparece un ruido (chirrido) al pisar el pedal del embrague, esto indica falta de lubricación o falla del cojinete del embrague desacoplando el embrague.

Si entra aire en el sistema, se debe purgar.

Para hacer esto, se coloca una manguera especial en la cabeza de la válvula de derivación 14 (Fig. 1), cuyo extremo libre se baja a un recipiente con el fluido de trabajo.

Al desenroscar la válvula de derivación ½,-1 vuelta, elimine el aire del sistema presionando sucesivamente (cada 0,5-1 s) el pedal del embrague hasta el fondo.

En este caso, es necesario controlar el nivel de líquido en el tanque y agregarlo constantemente, no permitiendo que el nivel caiga por debajo de 40 mm desde el borde superior del cuello. De lo contrario, entrará aire al sistema a través del cilindro maestro.

Bombee el sistema hasta que el aire y el líquido que fluye a través de la manguera dejen de emitir.

Una vez completado el sangrado, cierre la válvula de derivación con el pedal presionado hasta el fondo.

El deterioro del acoplamiento suave, el retraso en el acoplamiento del embrague al arrancar desde parado y al cambiar de marcha, el atasco en el accionamiento del embrague generalmente se asocia con la hinchazón de los manguitos de sellado del accionamiento hidráulico y la pérdida de estanqueidad debido al uso de baja presión. fluidos de trabajo de calidad, así como con el funcionamiento defectuoso del dispositivo seguidor en el amplificador neumático.

Al operar vehículos a bajas temperaturas, puede ocurrir un aumento significativo en la viscosidad (solidificación) del fluido de trabajo en la transmisión, lo que afecta su rendimiento.

En estos casos, es necesario reemplazar los manguitos y llenar el sistema de accionamiento hidráulico con líquido de frenos limpio Neva o Tom.

En el servicio 2:

  • - apriete los tornillos que sujetan el servomotor del embrague neumático:
  • - comprobar mediante inspección externa el apriete del accionamiento del embrague, si es necesario, eliminar la fuga y purgar el sistema hidráulico del accionamiento;
  • - comprobar el funcionamiento de los muelles de desembrague del pedal del embrague y de la palanca del eje de la horquilla de desembrague, corregir las averías si es necesario;
  • - ajustar la transmisión del embrague;
  • - lubricar el cojinete del embrague de desembrague y el casquillo del eje de la horquilla de desembrague;
  • - comprobar el nivel de líquido en el depósito de compensación del embrague y añadirlo si es necesario;
  • - vaciar el condensado del servomotor hidroneumático desenroscando el tapón 12 (ver Fig. 1).

El ajuste del accionamiento del embrague consiste en comprobar y ajustar el juego libre del pedal del embrague, el juego libre del embrague de desembrague y el recorrido completo del empujador del servomotor hidráulico neumático.

La verificación del juego libre del embrague de desembrague se realiza moviendo manualmente la palanca del eje de la horquilla desde la tuerca esférica de ajuste 15 del empujador 16 del servomotor hidráulico neumático del accionamiento del embrague (en este caso, es necesario desconecte el resorte de la palanca).

Si el juego libre de la palanca, medido en un radio de 90 mm, es inferior a 3 mm, ajústelo con la tuerca esférica del empujador del servomotor hidráulico neumático a un valor de 3,7-4,6 mm, que corresponde a un juego libre del desembrague de 3,2-4 mm.

Luego verifique la carrera completa del empujador del servomotor hidráulico neumático presionando a fondo el pedal del embrague, mientras que la carrera completa del empujador debe ser de al menos 25 mm; con una carrera menor se logra el desacoplamiento completo del embrague. no asegurado.

Si la carrera de empuje del servomotor hidráulico neumático es insuficiente, comprobar el juego libre del pedal del embrague, la cantidad de líquido en el cilindro maestro y el depósito del embrague y, si es necesario, purgar el sistema hidráulico del embrague.

El juego libre del pedal, correspondiente al inicio de funcionamiento del cilindro maestro, debe ser de 6-12 mm.

Se debe medir en la parte media de la zona del pedal del embrague.

Si el juego libre está fuera de los límites especificados anteriormente, ajuste el espacio "A" entre el pistón y el empujador del pistón del cilindro maestro.

Ajuste el espacio entre el pistón y el empujador del pistón del cilindro maestro usando el pasador excéntrico 9 (ver Fig. 1), que conecta el ojo superior del empujador 8 a la palanca del pedal 7.

Ajuste el espacio cuando el resorte de tensión presione el pedal del embrague contra el tope superior 10.

Gire el pasador excéntrico para que el pedal se mueva desde el tope superior hasta que el empujador toque el pistón entre 6 y 12 mm, luego apriete y ajuste la tuerca almenada.

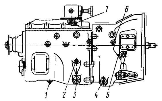
Lubricación del embrague

Puntos de lubricación: 1 - tapón de drenaje; 2 - tapón de llenado con indicador de nivel de aceite; 3, 4 - tapones de drenaje con imán; 5 - soporte de engrase; 6 - engrasador del cojinete de liberación; 7 - respiro

Lubricar los casquillos del eje de la horquilla de desembrague a través de dos engrasadores 5, y el cojinete del embrague de desembrague a través del engrasador 6, realizando no más de tres pasadas con una jeringa. De lo contrario, podría entrar exceso de lubricante en la carcasa del embrague.

Control de nivel Compruebe visualmente el líquido Neva en el depósito de compensación del cilindro principal.

El nivel normal de líquido en el tanque corresponde a 15-20 mm desde el borde superior del tanque. El volumen total de líquido en el accionamiento hidráulico del embrague es de 380 cm 3.

Durante el servicio “C” (otoño), cambie el líquido en el sistema hidráulico del embrague.