Бесконтактная экранированная система зажигания устанавливается на автомобиле ЗИЛ-1З1 и его модификациях

Схема системы зажигания показана на рис. 1.

Бесконтактная транзисторная система зажигания "Искра": 1 - транзисторный коммутатор; 2 - датчик распределитель; 3 - добавочный резистор СЭ326; 4 - распределитель зажигания; 5 - свеча зажигания; 6 - катушка зажигания; A - ток низкого напряжения; B - ток высокого напряжения; C - ток управления

Система состоит из катушки зажигания Б118, датчика-распределителя 4902.3706, транзисторного коммутатора ТК200-01, свечей СН-307В проводов высокого напряжения в экранирующих шлангах и коллекторах, выключателя зажигания ВКЗ50 и добавочного резистора СЭЗ26, который автоматически замыкается накоротко при пуске двигателя.

Схема включения приборов бесконтактной системы зажигания "Искра": 1 - фильтр; 2 - добавочный резистор; 3 - катушка зажигания; 4 - аварийный вибратор; 5 - датчик распределитель; 6 - конденсаторный фильтр; 7 - выключатель зажигания; 8 - транзисторный коммутатор; 9 - стартер; 10 - свеча зажигания

Для защиты радиоприема от помех, создаваемых системой зажигания, в цепь питания системы зажигания включен фильтр подавления радиопомех ФР82Ф.

Катушка зажигания Б118: 1 - штуцер высокого напряжения; 2 - штуцеры выводов низкого напряжения; 3 - скоба крепления; 4 - кожух

Катушка зажигания Б118 (рис. 2) экранированная, герметизированная.

В отличие от других катушек зажигания один конец вторичной обмотки соединен внутри с корпусом катушки.

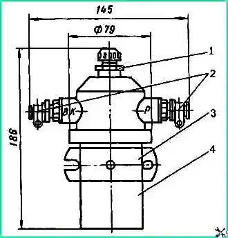
Добавочный резистор СЭ326: 1 - клемма; 2 - изоляционная втулка; 3 - нихромовая спираль; 4 - фарфоровый изолятор; 5 - корпус

Добавочный резистор (рис 3 ) неэкранированный, предназначен для ограничения электрического тока, протекающего в цепях системы зажигания в рабочем и аварийном режимах.

Нихромовая спираль 3 смонтирована на фарфоровом изоляторе 4 в штампованном металлическом корпусе 5.

Концы спирали соединены с выводными клеммами 1, укрепленными на изоляционных втулках 2, установленных в металлическом дне корпуса.

При замене спирали добавочный резистор снимают с автомобиля.

Транзисторный коммутатор предназначен для коммутации электрического тока в первичной обмотке катушки зажигания (разрыва первичной цепи катушки зажигания в необходимый момент путем включения большого омического сопротивления выходного транзистора)

Транзисторный коммутатор установлен на левой стенке в кабине автомобиля и может работать только при температуре окружающей среды не выше 70˚ С и не ниже минус 60° С.

В условиях эксплуатации он не ремонтируется и в случае выхода из строя заменяется.

Для проверки работоспособности коммутатора на стенде необходимо собрать схему бесконтактной системы зажигания (рис. 1▲)

Включив напряжение питания (12,6 ± 0,6) В и изменяя частоту вращения датчика-распределителя от 20 до 1600 мин -1, можно наблюдать устойчивое искрообразование на разрядниках.

При использовании генератора вместо датчика на генераторе устанавливается выходное напряжение синусоидальной формы амплитудой 2 — 10 В и, изменяя частоту вращения генератора от 2,6 до 213 Гц, можно наблюдать устойчивое искрообразование на разряднике, подключенном непосредственно к катушке зажигания.

Отсутствие искрообразования указывает на неисправность коммутатора, который необходимо заменить.

Срабатывание защиты коммутатора от аварийного повышения напряжения питания происходит при частоте вращения валика датчика-распределителя 1000 мин -1 или частоте сигнала генератора 135 Гц путем плавного повышения напряжения питания до полного прекращения искрообразования, но не более 23 В.

При проверке работоспособности приборов бесконтактной системы зажигания на автомобиле, необходимо снять крышку экрана датчика-распределителя, вытащить из центрального гнезда крышки распределителя высоковольтный провод; установив зазор между торцом наконечника высоковольтного провода и корпусом экрана распределителя 4 — 6 мм, включить зажигание, и повернуть коленчатый вал стартером или рукояткой с частотой вращения не менее 40 мин -1.

Наличие искрового разряда в зазоре указывает на исправность системы зажигания в целом.

При отсутствии искры в зазоре надо отсоединить от датчика низковольтный разъем, идущий на вход «Д» коммутатора, и прикоснуться вилкой разъема к любой точке в бортовой сети автомобиля, находящейся под напряжением 12 В (вывода добавочного резистора, вывода «+» аккумуляторной батареи).

Наличие искры в зазоре между торцом наконечника высоковольтного провода и корпусом экрана указывает на неисправность датчика-распределителя, а отсутствие искры — на неисправность других приборов.

Датчик-распределитель 49.3706: а - устройство датчика-распределителя; б - детали датчика-распределителя; 1 - гайка октан-корректора; 2 - масленка; 3 - валик распределителя с автоматом и ротором; 4 - клемма вывода низкого напряжения; 5 - контактный уголек; 6 - пружина контактного уголька, 7 - вывод высоковольтного провода к катушке зажигания; 8крышка экрана; 9 - экран; 10 - крышка распределителя; 11 -  бегунок, 12 сальник; 13 - статор; 14 - ротор; 15 - винт; 16 - корпус распределителя; 17 - метка установки зажигания, 18 регулировочная гайка; 19,20 и 21 - болты, 22 - пружинная шайба; 23 - штифт; 24 и 29 - втулки; 25 - подшипник ГПЗ2018; 26 - пружина; 27 - винт; 28 - фильц

Датчик-распределитель (см рис. 4) экранированный, работает совместно с катушкой зажигания Б118, предназначен для управления работой коммутатора, распределения импульсов высокого напряжения по цилиндрам двигателя в необходимой последовательности, для автоматического регулирования опережения момента зажигания в зависимости от частоты вращения коленчатого вала, а также для установки начального момента зажигания.

Датчик распределитель зажигания

Снятие датчика-распределителя с двигателя

Снять датчик-распределитель с двигателя можно двумя способами:

  • - отсоединить крепление кронштейнов свечных проводов, отвернув эти провода от свечей, отсоединить провода низковольтного и высоковольтного выводов на датчике-распределителе и, отвернув два болта крепления датчика-распределителя к блоку, снять его с двигателя вместе со свечными проводами и их кронштейнами,
  • - отвернуть низковольтный и высоковольтный провода от клемм датчика- распределителя, отвернуть болты (см. рис 4) и снять крышку 8 экрана.

Затем вынуть свечные провод датчика-распределителя и, отвернуть болт 20 крепления регулировочных пластин, снять датчик-распределитель с двигателя.

Надо соблюдать осторожность, чтобы не уронить болт 20 и шайбы в двигатель.

Разборка датчика-распределителя зажигания

Для разборки датчика-распределителя зажигания надо закрепить его в тисках за корпус 16 и, отвернув болт крепления экрана 9 к корпусу, его, предохраняя резиновые уплотнительные кольца от выпадения или повреждения.

Снять крышку 10 и бегунок 11, отвернуть два винта 15 и вынуть статор в сборе с помощью бородка или отвернуть.

С помощью бородка выбить штифт 23 из валика 3, снять втулку 24 в сборе с шайбой и вынуть валик 3 в сборе с центробежным регулятором и ротором 14.

После этого из корпуса 16 вынуть опорный подшипник 25 с пластиной.

Для снятия ротора 14 с валика, надо вынуть фильц 28 и отвернуть винт 27.

Пружина 26 регулятора легко снимается со стоек с помощью плоскогубцев или отвертки.

Проверка деталей датчика-распределителя

После разборки все детали датчика-распределителя необходимо промыть керосином или бензином и насухо протереть салфеткой.

После этого их надо тщательно осмотреть.

На крышке 10 распределителя не допускается наличие трещин, сколов, прогаров высоковольтных выводов и других дефектов.

Надо проверить свободу перемещения уголька в гнезде, крышки и заменить его при сильном износе.

Затем необходимо проверить люфт валика 3 в корпусе 16 и, при его наличии, выпрессовать две втулки 29, заменив их. При наличии дефектов пружин 26 их необходимо также заменить.

Для проверки работоспособности ротора 14 к клемме обмотки и к пластине низковольтного вывода надо подсоединить тестер или контрольную лампу с батареей и определить отсутствие обрыва обмотки.

При наличии обрыва обмотки ротор надо заменить.

Сборка датчика распределителя

Перед началом сборки смазать поверхность валика 3 моторным маслом, установить на него ротор 14 и закрепить винтом 27.

Затем капнуть на винт 27 2-3 капли моторного масла и поставить в отверстие ротора фильц 28.

Установить, в случае если они снимались, пружины 26 на стойки пластик.

далее в корпус 16 установить опорный подшипник 25, смазав его и устанавливаемую на него сверху опорную шайбу, смазкой Литол-24.

Затем вставить валик 3 в сборе с ротором в корпус 16, надеть на нижний его конец шайбу и втулку 24 и установить в отверстие на валике штифт 23, раскрепив его с помощью керна.

Установить в корпус 16 статор 13, расположив его клеммами с проводами вверх.

При этом пластину низковольтного вывода, протерев ее спиртом, расположить напротив клеммы 4 корпуса 16. Закрепить статор двумя винтами 15.

Установить на валик бегунок 11 и закрыть распределитель крышкой 10, совместив пазы в крышке и корпусе 16.

Проверив наличие резиновых уплотнительных колец в корпусе 16, установить на корпус экран 9 и закрепить его болтами 19. После этого надо заполнить масленку 2 смазкой Литол-24.

При сборке клеммы 4 надо, чтобы провод 7 был припаян к контакту 9, а экранирующая оплетка 1 хорошо заправлена и зажата шайбами 4 и 5.

Для проверки работоспособности датчика-распределителя его необходимо установить на испытательный стенд и проверить.

  • - характеристики центробежного автомата;
  • - максимальное напряжение на низковольтном входе, которое должно быть 45 В при частоте вращения валика 1600 мин -1.

Датчик-распределитель должен обеспечивать амплитудное значение выходного напряжения, имеющего форму, близкую к синусоидальной, не менее 1,4 В на эквиваленте нагрузки 3,9 кОм при частоте вращения валика 20 мин -1.

Установка датчика-распределителя зажигания на двигатель

Установка момента зажигания

Установку датчика распределителя зажигания на двигатель проводят в порядке, обратном его демонтажу.

Метка шкива коленчатого вала должна совпадать с риской 9 на указателе установки момента зажигания.