• Авторук
  • Системы
    • Схемы
    • Двигатели
    • ВАЗ-2108-2170
    • ВАЗ-2101-2107
    • Лада Приора
    • Лада Калина
    • ВАЗ-2121
    • ВАЗ-2110
    • Лада-Ларгус
    • Lada Xray
    • Лада Веста
    • Лада Гранта
  • Разделитель
    • ГАЗ-3110 (Волга)
    • ГАЗ-2705
    • ГАЗ-66
    • Соболь
  • Разделитель-2
    • Камаз
    • ЗИЛ-131
    • МАЗ
    • ПАЗ
    • ЗИЛ-5301
    • Урал
  • Разделитель-3
    • УАЗ-Патриот
    • УАЗ 3151
    • Нива Шевролет
  • Разделитель 4
    • Peugeot 307
    • Все по Форд Таурус
    • Опель Корса
    • Grand Cherokee
    • VW-Passat
    • Авео Шевролет
    • Mitsubishi Lancer
  • Разделитель 5
  • поиск

Системы

Ремонт корпуса заслонок ДААЗ 2107

Разборка и ремонт корпуса дроссельных заслонок ДААЗ 2107

Снимаем корпус экономайзера принудительного холостого хода (см. Ремонт системы ЭПХХ).

Тонкой отверткой заворачиваем винт качества до упора, записав количество сделанных при этом оборотов, а затем полностью выворачиваем винт

Устранение повреждений синтетическими материалами

Устранение повреждений кузова синтетическими материалами

Устранение повреждений на кузове с применением синтетических материалов осуществляют двумя методами: заполне­нием и напылением.

Для заделки вмятин и сквозных коррозионных повреждений заполнением используют композиции на основе эпоксидных смол

Рихтовка методом нагрева и удара

Устранение выпуклости-вмятины ме­тодом нагрева и осаждения металла удар­ным воздействием

При рихтовки нагрева­нием и выстукиванием быстро подводят горелку к центру выпуклости, прогревают ее и отводят горелку, как только разогре­тое докрасна пятно достигнет диаметра не более 10 мм при толщине металла панели 0,6 — 0,8 мм

КАРБЮРАТОР 21051 - 1107010

На автомобилях ВАЗ-2105 и -2104 с 1985-87 гг. устанавливают­ся карбюраторы модели 21051-1107010

Конструкция карбюратора К-151

Карбюраторы К-151, как и любые другие карбюраторы, представляют собой устройства для точного дозирования топлива в потоке воздуха, образования из топлива и воздуха горючей смеси и регулирования ее подачи в цилиндры двигателя

Особенности карбюратора ДААЗ-2107

Карбюратор «Озон» модель ДААЗ 2107 – эмульсионного типа, двухкамерный, с падающим потоком

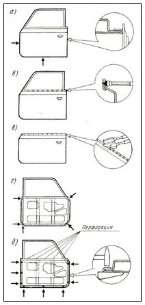
Ремонт дверей легковых авто

Ремонт дверей легковых автомобилей

Ремонт дверей легковых автомобилей предусмат­ривает следующие виды работ по устране­нию наиболее часто встречающихся де­фектов: замену наружной панели вследст­вие значительного ее разрушения корро­зией или аварийной деформации, не устраняемой правкой и рихтовкой, устра­нение обрыва петель боковых дверей, ре­монт звена петли двери задка, устранение неприлегания усилителя к наружной па­нели двери.

Страница 5 из 19

  • 1
  • 2
  • 3
  • 4
  • 5
  • 6
  • 7
  • 8
  • 9
  • 10

Выберите язык

  • Русский
  • Қазақша (kk-KZ)
  • Українська (Україна)
  • Español (España)
  • German (DE)
  • English (UK)