Пневматическая система тормозов автобуса состоит из компрессора, пневмоаппаратов и трубопроводов

В целях предупреждения отказов пневмоаппаратов тормозной системы от засорения, на входе в тормозной кран, осушитель, четырехконтурный защитный клапан и в модуляторы (по 2) устанавливается сетчатый фильтр очистки сжатого воздуха.

Первую проверку состояния фильтров следует проводить после обкатки автобуса.

В случае засоренности сетки, необходимо вывернуть плоскогубцами фильтр из штуцера корпуса пневмоаппарата и очистить сжатым воздухом.

Последующие проверки состояния фильтров рекомендуется выполнять при сезонном техническом обслуживании.

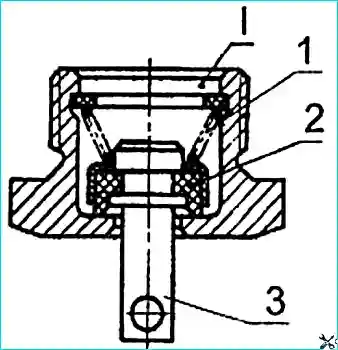
Схема компрессора: 1 - подшипник шатунный; 2 - вал коленчатый; 3 - поршень; 4 - пластина всасывающего клапана; 5 - упор; 6 - впуск; 7 - пластина нагнетательного клапана; 8 - головка цилиндра; 9 - выпуск; 10 - канал для смазки; 11 - подшипник

Компрессор - (рис. 1) одноцилиндровый поршневого типа, с воздушным охлаждением блока цилиндров и с водяным охлаждением головки цилиндров.

Привод компрессора ременный от шкива коленчатого вала. Регулировка натяжения ремней производится перемещением кронштейна компрессора.

Масло к шатунной шейке подается в сверление коленчатого вала компрессора через заднюю крышку по шлангу из системы смазки двигателя.

Шарикоподшипники, поршневые пальцы и стенки цилиндра смазываются разбрызгиванием. Из компрессора масло сливается в масляный картер двигателя.

При обслуживании компрессора проверяется крепление компрессора к кронштейну, крепление кронштейна к двигателю, крепление шкива, натяжение приводного ремня, крепление головки цилиндров компрессора, а также состояние и крепление нагнетательного шланга компрессора и шлангов подвода охлаждающей жидкости к головке цилиндров.

Протяжку гаек головки цилиндров следует выполнять равномерно по диагонали в несколько приёмов, каждый приём не более чем на 1-2 грани.

Окончательная затяжка производится моментом 18-25 Нм (1,8-2,5 кгс м).

При установке нового компрессора после 15 минутной обкатки следует проверить натяжение приводных ремней.

Для компрессора производства ОАО «АК АДВИС» рекомендуется один раз в год при сезонном обслуживании, но не более чем через 100000 км пробега произвести очистку от нагара поршней и клапанов.

Признаками неисправности компрессора являются: появление шума и стука в нем, чрезмерный нагрев (более 190˚С), увеличенное содержание масла в конденсате, сливаемом из воздушных баллонов.

Воздухоочиститель: 1 - осушающее вещество; 2 - кольцевой фильтр; 3 - обратный клапан; 4 - камера влагоотделения; 5 - клапан разгрузочный; 6 - глушитель шума; 7 - вентиляционное отверстие; 8 - регулировочные винты; 9 - клапан впускной
Подводы: 1 - подвод от компрессора; 21 - отвод к четырехконтурному защитному клапану; 22 - отвод к воздушному ресиверу регенерации; 3 - атмосферный вывод

Воздухоосушитель с встроенным регулятором давления (рис. 2) предназначен очистки сжатого воздуха от влаги и загрязнений, а также для автоматического поддержания рабочего давления в системе пневматического привода тормозов.

Подаваемый воздушным компрессором воздух проходит через кольцевой фильтр 2, где происходит его предварительная очистка от загрязнений.

Там же воздух охлаждается, а часть влаги, содержащейся в нем, собирается в камере влагоотделения 4.

Затем воздух осушается, проходя через гранулообразный порошок 1, и поступает к обратному клапану 3, открывает его и проходит через отвод 21 к четырехконтурному защитному клапану и далее к воздушным ресиверам.

Одновременно через жиклер и отвод 22 наполняется воздушный ресивер емкостью 5 литров для регенерации осушающего элемента.

Внимание! Осушитель воздуха имеет электроподогрев клапанного узла, включающийся кнопкой на щитке приборов.

Электроподогрев включается автоматически при температуре окружающего воздуха менее +10°С и отключается после нагрева до +30° С.

Специального обслуживания осушитель не требует.

Для контроля нормальной работы осушителя следует ежедневно проверять отсутствие конденсата в баллоне расположенном после осушителя и следить за герметичностью пневматического привода тормозной системы.

При правильной эксплуатации фильтрующий элемент осушителя обеспечивает качественную очистку воздуха в течение двух лет.

При появлении в ресиверах конденсата необходимо заменить фильтрующий элемент.

При наличии в конденсате масла необходимо отремонтировать компрессор, так как замасливание гранул порошка осушителя резко снижает срок его работы.

Замена фильтрующего элемента осушителя воздуха проводится в следующем порядке:

  • 1. Очистить поверхность осушителя от грязи.
  • 2. Ослабить резьбовое соединение нагнетательного трубопровода от компрессора и выпустить из него воздух.
  • 3. Отвернуть, вращая против часовой стрелки, патрон фильтрующего элемента.
  • 4. Установить новый патрон, слегка смазав маслом уплотнительную прокладку.
  • 5. Затянуть рукой патрон моментом не более 15 Нм (1,5 кгс м).
  • 6. Затянуть резьбовое соединение нагнетательного трубопровода.

Четырехконтурный защитный клапан предназначен для разделения питающей магистрали на два основных и два дополнительных контура, автоматического отключения одного из контуров в случае его повреждения и сохранения запаса сжатого воздуха в неповрежденных контурах, а также для сохранения воздуха во всех контурах в случае повреждения питающей магистрали.

Клапан четырехконтурный защитный: 1 - крышка; 2 - винт регулировочный; 3 - пружина; 4 - направляющая пружины; 5 - диафрагма; 6 - клапан; 7 - клапан перепускной

Регулировка секций защитного клапана проведена таким образом, что сначала открываются магистральные клапаны рабочей тормозной системы и привода двери (на рис. 4 секций 21, 22, 24) при величине давления перепуска 6,2 +0,3 кгс/см 2, а затем открывается клапан стояночной тормозной системы (секции 23) при величине давления перепуска 6,7 +0,3 кгс/см 2.

Схема четырехконтурного защитного клапана: 1 - вход; 1, 2 - перепускные клапаны; 21, 22 - контуры рабочей тормозной системы; 23 - контур стояночного тормоза; 24 - контур привода двери. Ресиверы: А, В - контуров рабочей тормозной системы; C - дверного привода; D - стояночной тормозной системы

При разгерметизации секции 21 в неё из секции 23 через специально встроенный клапан обеспечивается перепуск сжатого воздуха с темпом, не менее 60 л/мин.

После перепуска остаточное давление воздуха в энергоаккумуляторах должно быть не более 1 кгс/см 2 .

Регулировка клапана исключает возможность трогания автобуса с места при заполнении пневмосистемы сжатым воздухом до момента, обеспечивающего затормаживание автобуса с необходимой эффективностью, а также исключает возможность растормаживания стояночной тормозной системы автобуса при снижении уровня давления в контуре 1 рабочей тормозной системы ниже минимального уровня менее 4,0 кгс/см 2.

Ручной кран стояночного тормоза предназначен для управления пружинными энергоаккумуляторами стояночной тормозной системы.

При движении автобуса рукоятка крана находится в крайнем переднем положении. Устройство крана обеспечивает автоматический возврат рукоятки в нижнее положение при ее отпускании.

Только в крайнем заднем положении рукоятка фиксируется.

Для оттормаживания пружинных энергоаккумуляторов рукоятку следует вытянуть в радиальном направлении, при этом рукоятка свободно возвращается в положение "отторможено".

Клапан быстрого оттормаживания: 1 - корпус; 2 - крышка; 3 - мембрана; 4 - уплотнительное кольцо; 5 - глушитель шума

Клапан быстрого оттормаживания предназначен для ускорения выпуска воздуха из исполнительных механизмов, за счет сокращения пути проходимого сжатым воздухом при выпуске.

Клапан установлен около тормозных камер заднего моста.

При положении рукоятки крана стояночного тормоза в положении «отторможено» сжатый воздух поступает в вывод "I" клапана (рис. 5), диафрагма 3 прижимается к выпускному седлу в корпусе; при этом края диафрагмы отгибаются и сжатый воздух проходит в выводы "II" и далее в энергоаккумуляторы.

При падении давления в выводе I диафрагма 3 под действием сжатого воздуха в выводах II отрывается от выпускного седла в корпусе 1 и прижимается к седлу в крышке 2, перекрывая тем самым проход воздуха в вывод "I". Сжатый воздух при этом через вывод "III" выпускается в атмосферу.

К возможным неисправностям клапана быстрого оттормаживания относятся: утечка сжатого воздуха по разъему крышки 2 (рис. 5) и корпуса 1, которая происходит из-за ослабления крепления крышки или дефекта уплотнительного кольца 4, и выход сжатого воздуха в окружающую среду из вывода "III" из-за неисправности мембраны 3.

Для разборки клапана быстрого оттормаживания надо отвернуть четыре винта крепления крышки 2.

При замене мембраны 3 одновременно надо заменить и резиновое уплотнительное кольцо 4.

После сборки клапана его надо установить на стенд и провести испытания на работоспособность и герметичность по схеме, показанной на рисунке (правый вывод "II" закрыть заглушкой), по следующей методике.

Три раза подать и выпустить воздух под давлением 0,75 МПа в вывод "I".

  • установить давление в выводе "I" - 0,02 МПа. При этом в выводе "II" должно появиться давление.
  • Повысить давление в выводе "I" до 0,75 МПа. При этом давление в выводе "II" должно повышаться.

Разность между давлениями в выводах "I" и "II" не должна превышать 0,02 МПа.

Проверку клапана на герметичность надо производить под давлением 0,5 МПа в выводе "I". При обмыливании появление пузырьков воздуха не допускается в течение 1 мин.

Далее надо установить давление 0,75 МПа в выводах "I" и "II" и последовательно понижать давление в выводе "I".

При этом в выводе "II" должно наблюдаться соответствующее понижение давления, а из атмосферного вывода "III" должен выходить воздух.

При снижении давления в выводе "I" до нуля давление в выводе "II" должно стать равным нулю.

Кран тормозной (рис. 6.) предназначен для управления колесными тормозными механизмами при двухконтурном тормозном приводе.

Выводы "I" и "II" (см. рис. 6) крана соединены с воздушными ресиверами двух раздельных контуров привода рабочего тормоза.

От выводов "III" и "IV" сжатый воздух поступает к тормозным камерам. В корпусе крана установлены выключатели сигналов торможения.

Кран тормозной: 1 - рычаг; 2 - упорный винт рычага; 3 - защитный чехол; 4 - ось рычага; 5 - ролик; 6 - толкатель; 7 - корпус рычага; 8 - гайка; 9 - тарелка; 10, 16, 19, 27 - кольца уплотнительные; 11 - шпилька; 12 - пружина следящего поршня; 24 - пружина клапанов; 20 - тарелка пружин; 21 - клапан атмосферный; 22 - кольцо упорное; 23 - корпус атмосферного клапана; 25 - корпус нижний; 26 - пружина малого поршня; 28 - поршень большой; 29 - клапан верхней секции; 30 - следящий поршень; 31 - упругий элемент; 32 - верхний корпус; 33 - опорная плита; I - V - выводы

При обслуживании тормозного крана проверяется крепление крана к кронштейну основания кузова, проверяется целостность защитного резинового чехла и плотность его установки, производится диагностическая проверка правильности работы крана.

В зимнее время в случае замерзания крана, для предупреждения повреждений резиновых и пластмассовых деталей, не рекомендуется отогревать кран открытым огнем.

Следует применять для отогрева теплый воздух или горячую воду.

Схемы подключения тормозного крана при испытаниях: 1, 4, 5, 9 - манометры; 2, 8 - баллоны воздушные; 3, 6 - краны; 7 - тормозной кран; 11, 12 - подводы сжатого воздуха; 21, 22 - выводы сжатого воздуха; Р11, Р12 - входное давление; Р21, Р22 - выходное давление

В связи с постепенным нарушением подвижности поршней тормозного крана в процессе эксплуатации автобуса, особенно при попадании воды и масла внутрь крана на поверхности трения, рекомендуется при ТО-2 проводить диагностическую проверку работы крана. Для этого нужно, не снимая кран с автобуса, подсоединить к его верхнему и нижнему секционным выводам по одному манометру и, нажимая на педаль тормоза, отмечать разность давлений. Разность давлений не должна превышать 0,25 кгс/см 2.

При невыполнении этого условия необходимо провести ремонт крана.

Рекомендуется периодичностью один раз в 2 года производить профилактическую разборку тормозного крана для очистки, смазки и замены резиновых уплотнительных колец и изношенных деталей.

Сборка и проверка работоспособности тормозного крана

1. Сборку проводить с учетом следующих требований:

  • а) сборка должна производиться в условиях, исключающих возможность попадания на собираемые детали абразивной пыли и т. п.
  • б) сборка резиновых деталей должна производиться осторожно, чтобы исключить возможность их повреждения. Наличие на резиновых деталях порезов, рисок и других дефектов не допускается.
  • в) все трущиеся поверхности деталей смазать тонким слоем смазки ЦИАТИМ 221. Допускается применение смазок ЖТ-72 ТУ 38.101.345-77 или ЖТ 79Л ТУ 32ЦТ 1176-86.
Регулировка двухсекционного тормозного крана: 1 - регулировочная шпилька; 2 - упругий элемент; 3 - верхний поршень; 4 - нижний корпус; 5 - малый поршень; 6 - клапан
  • 2. Перед установкой верхнего поршня замерить расстояние "с" (рис. 8) выступания хвостовика поршня над клапаном.
  • 3. С помощью регулировочного винта в верхнем поршне установить расстояние а = (с + 0,8) мм и законтрить регулировочный винт.
  • 4. Установить верхний поршень и при необходимости прижать его транспортным зажимом.
  • 5. Собрать аппарат с опорной плитой и рычагом.
  • 6. Установить регулировочный болт до упора в рычаг так, чтобы не было зазора между роликом 4 и толкателем 5 (рис. 7), зафиксировать регулировочный болт 2.
  • 7. Подсоединить кран к системе сжатого воздуха в соответствии со схемой испытаний (рис. 7).
  • 8. Трижды переместить рычаг до упора (ход не менее 31,2 мм). При перемещении рычага не должно быть заеданий и он должен быстро возвращаться в исходное положение.
  • 9. Подать воздух под давлением Р11 = Р12 = 0,75 мПа (7,5 кгс/см 2) в выводы 11 и 12. Трижды переместить рычаг до упора и обратно. Давление в выводах 21 и 22 должно изменяться от 0 до давления в выводах 11 и 12 и обратно.
  • 10. При перемещении рычага на 4,7-7,4 мм (ход толкателя 1,9-3,0 мм) в выводе 21 должно появиться давление. При достижении в выводе 21 давления Р21 = 0,05 мПа (0,5 кгс/см 2) давление в выводе 22 должно быть не менее 0,025 мПа (0,25 кгс/см 2).

При этом ход рычага должен превышать 4,7 мм (ход толкателя должен превышать 1,9 мм).

Опережение роста давления в выводе 21 по отношению к росту давления в выводе 22 может сохраняться по всему диапазону давлений, но не превышать 0,025 мПа (0,25 кгс/см 2 ).

Первоначальный скачок давления в выводах 21 и 22 не должен превышать 0,02 мПа (0,2 кгс/см 2).

  • 11. При достижении в выводе 21 давления P21 = 0,3 мПа (3,0 кгс/см 2) ход рычага должен быть 14,5-19,9 мм (ход толкателя 5,8-8,0 мм).
  • 12. При достижении в выводе 21 давления Р21 = 0,75 мПа (7,5 кгс/см 2) ход рычага должен быть 21-27мм (ход толкателя 8,4-10,8 мм).
  • 13. Общий ход рычага до упора должен составлять 31,1-39,1 мм (ход толкателя 12,5...15,7 мм).
  • 14. При плавном перемещении рычага давление в выводах 21 и 22 после начального скачка должно плавно повышаться, а при отпускании рычага плавно понижаться.
  • 15. Подать воздух под давлением Р12 = 0,75 мПа (7,5 кгс/см 2) в вывод 12. Переместить рычаг до упора. При этом в выводе 22 давление должно измениться от 0 до 0,75 мПа (7,5 кгс/см 2).
  • 16. Подать воздух под давлением Р11 = 0,75 мПа (7,5 кгс/см 2) в вывод 11. Переместить рычаг до упора. При этом в выводе 21 давление должно измениться от 0 до 0,75 мПа (7,5 кгс/см 2).
  • 17. Проверить аппарат на герметичность. Кран должен быть герметичен при любом положении рычага.

Проверку производить при отпущенном рычаге и давлении P11 = P12 = 0,75 МПа (7,5 кгс/см 2) в выводах 11 и 12 и при нажатом до упора рычаге и давлении Р = 0,75 мПа (7,5 кгс/см 2) в выводе 11.

Утечка воздуха в каждом случае не должна превышать 8 см 3 /мин.

Привод тормозного крана отрегулирован правильно, если полный ход педали тормоза, определяемый по перемещению центра площадки педали, составляет 105-117 мм.

При этом площадка педали не должна касаться пола в крайнем нажатом положении, а тормозной кран полностью открыт.

Свободный ход педали 18-25 мм.

Свободный ход педали тормоза обусловлен конструкцией тормозного крана.

В случае необходимости (при снятии-установке крана) можно отрегулировать, совместив вращением вилки по резьбе тяги отверстие в вилке с отверстием рычага крана, находящегося в свободном состоянии, и вывернув с тяги вилку на один оборот.

В этом положении следует установить палец вилки, зашплинтовать палец и затянуть контргайку вилки.

Устройство (а) и детали (б) клапана контрольного вывода: 1 - защитный колпачок; 2 - толкатель; 3 - корпус; 4 - пружина; 5 - штуцер; 6 - клапан

Клапан контрольного вывода (рис. 9) предназначен для присоединения к приводу контрольно - измерительных приборов с целью проверки давления.

На автобусе установлено три клапана: один на правой передней и два на правой задней тормозных камерах.

Для присоединения к клапану следует применять шланги и измерительные приборы с накидной гайкой M16x1,5.

Для разборки клапана контрольного вывода зажать его в тиски за штуцер 5 и вывернуть защитный колпачок 1.

Отвернуть корпус 3, вынуть пружину 4 и снять клапан 6.

Сборка клапана осуществляется в обратной последовательности.

Для проверки работоспособности клапана установить его на испытательный стенд и подключить по схеме, показанной на рис. 9а.

Подать воздух под давлением 0,75 МПа в вывод 1(Р1) и трижды утопить и отпустить толкатель клапана.

Проверить клапан на герметичность.

Затем подключить к выводу 1(Р2) емкость 0,5 л.

Утопить толкатель клапана. При этом давление в выводах 1 и 11 должны сравняться в течение не более 5 с.

Кран слива конденсата: 1 - пружина; 2 - клапан; 3 - толкатель; I - вывод

Кран слива конденсата (рис. 10) предназначен для принудительного слива конденсата из воздушного ресивера тормозного привода, а также, при необходимости, для выпуска сжатого воздуха из ресивера.

Кран слива конденсата открывается при нажатии на толкатель 3 вверх или отведении его в любую сторону.

При обслуживании пневматического привода тормозной системы автобуса проверяется герметичность системы в целом и ее отдельных частей.

Места сильной утечки воздуха определяют на слух, а места слабой утечки - с помощью мыльной эмульсии.

Утечка воздуха в рабочей тормозной системе определяется при заполненной системе до рабочего давления при нажатой тормозной педали.

При этом падение давления не должно превышать 0,05 мПа (0,5 кгс/см 2) в течение 15 минут и 0,05 мПа (0,5 кгс/см 2) в течение 30 минут при свободном положении органов управления.

Утечка воздуха в стояночной тормозной системе определяется при положении рукоятки ручного тормоза в положении «Расторможено».

Утечка воздуха из соединений трубопроводов устраняется подтяжкой или заменой отдельных деталей соединений.

Во избежание поломки присоединительных бобышек на тормозных пневмоаппаратах момент затяжки штуцеров, пробок, гаек не должен превышать 30.. .50 Нм (3-5 кг/см 2).

Дня повышения безотказности и надежности работы тормозной системы, рекомендуется один раз в два года проводить профилактическую разборку тормозного крана; тормозных камер задних и передних тормозов, защитного клапана; ручного тормозного крана; клапана быстрого оттормаживания; замену сменного патрона осушителя независимо от их технического состояния.

Обнаруженные при контрольной проверке неисправные аппараты должны быть отремонтированы с помощью ремонтных комплектов, проверены на работоспособность и соответствие характеристикам.

Порядок сборки и проверки аппаратов изложен в специальных инструкциях. Их ремонт производится лицами, прошедшими необходимую подготовку.