Привод сцепления автомобиля КамАЗ

Привод сцепления дистанцион­ный, гидравлический с пневмоусилителем.

Пневмоусилитель существенно облегчает выключение и удержание в выключенном состоянии сцепления водителем.

Привод состоит из педали 1 (рис.1) сцепления с оттяжной пружиной 11, глав­ного цилиндра 2, пневмоусилителя 18, трубок 6 и шлангов для подачи рабочей жидкости от главного цилиндра к усилите­лю сцепления, трубки 13 подвода сжатого воздуха от пневмопривода тормозов к усилителю сцепления, а также из бачка 5, обеспечивающего контроль за уровнем жидкости.

Привод механизма сцепления: 1 - педаль; 2 - цилиндр главный; 3, 10 - упоры нижний и верхний; 4 - кронштейн; 5 - бачок компенсационный; 6 – трубопровод гидравлический; 7 - рычаг; 8 - толкатель поршня; 9 - палец эксцентриковый; 11 - пружина оттяжная; 12 - пробка; 13 - трубопровод; 14 - клапан выпуска воздуха; 15 - гайка сферическая регулировочная; 16 – толкатель поршня пневмогидроусилителя; 17 - чехол защитный; 18 - пневмогидроусилитель; I - воздух сжатый

При выключении сцепления усилие ноги водителя через педаль, рычаг и шток передается к главному цилиндру 2 (рис.1 ), откуда жидкость под давлением по трубопроводам 10 поступает в корпус следящего устройства 4, которое при этом обеспечивает подачу сжатого воздуха, поступающего по воздухопроводу 5 в цилиндр пневмоусилителя 3.

Одновремен­но от главного цилиндра жидкость под давлением поступает в рабочий гидравли­ческий цилиндр 6 усилителя.

Следящее устройство, цилиндр пневмоусилителя и рабочий гидравлический цилиндр выполне­ны в одном агрегате — пневмогидравлическом усилителе.

Суммарное усилие, определяемое дав­лением воздуха в цилиндре пневмоусилите­ля и давлением жидкости в рабочем цилиндре, передается на шток 9 и через рычаг 8, вал и втулку выключения обеспе­чивает перемещение муфты с подшипником 7, необходимое для выключения сцепления.

Привод сцепления: 21 - эксцентриковый палец; 22 - бачок; 23 - толкатель; 24 - корпус главного цилиндра; 25 - поршень; 26 - пробка; 27 - рычаг вала вилки; 28 - ПГУ; 29 - сферическая регулировочная гайка; 30 - толкатель поршня; 31, 35 - поршни ПГУ; 32 - распорная пружина; 33 - манжета поршня; 34 - упорное кольцо; 36 - пружина поршня; 37 - крышка редуктора; 38 - клапан редуктора; 39 - пружина диафрагмы; 40 - седло диафрагмы; 41 - регулировочный винт; 42 - перепускной клапан; 43 - поршень следящего механизма

 Более расширенная схема представлена на рисунке 2.

Техническое обслуживание привода сцепления

При сервисе 2:

  • - затяните болты крепления пневматического усилителя привода сцепления:
  • - проверьте внешним осмотром герметичность привода сцепления, при необходимости устраните негерметичность и прокачайте гидросистему привода;
  • - проверьте действие оттяжных пружин педали сцепления и рычага вала вилки выключения сцепления, при необходимости устраните неисправности;
  • - отрегулируйте привод сцепления;
  • - смажьте подшипник муфты выключения сцепления и втулки вала вилки выключения сцепления;
  • - проверьте уровень жидкости в компенсационном бачке привода сцепления и при необходимости долейте;
  • - слейте конденсат из пневмогидроусилителя, вывернув пробку 12 (см. рис. 1).

Регулирование привода сцепления заключается в проверке и регулировании свободного хода педали сцепления, свободного хода муфты выключения сцепления и полного хода толкателя пневмогидроусилителя.

Проверка свободного хода муфты выключения сцепления осуществляется перемещением вручную рычага вала вилки от регулировочной сферической гайки 15 толкателя 16 пневмогидроусилителя привода сцепления (при этом необходимо отсоединить пружину от рычага).

Если свободный ход рычага, замеренный на радиусе 90 мм, окажется менее 3 мм, то его отрегулируйте сферической гайкой толкателя пневмогидроусилителя до величины 3,7-4,6 мм, что соответствует свободному ходу муфты выключения сцепления 3,2-4 мм.

Затем произведите проверку полного хода толкателя пневмогидроусилителя нажатием на педаль сцепления до упора, при этом полный ход толкателя должен быть не менее 25 мм, при меньшей величине хода не обеспечивается полное выключение сцепления.

При недостаточном ходе толкателя пневмогидроусилителя проверьте свободный ход педали сцепления, количество жидкости в главном цилиндре и бачке привода сцепления, а при необходимости проведите прокачку гидросистемы привода сцепления.

Свободный ход педали, соответствующий началу работы главного цилиндра, должен быть 6-12 мм.

Замерять его следует в средней части площадки педали сцепления.

Если свободный ход выходит за пределы, указанные выше, отрегулируйте зазор «А» между поршнем, и толкателем поршня главного цилиндра.

Регулирование зазора между поршнем и толкателем поршня главного цилиндра проведите эксцентриковым пальцем 9 (см. рис. 1), который соединяет верхнюю проушину толкателя 8 с рычагом 7 педали.

Регулируйте зазор при положении, когда оттяжная пружина прижимает педаль сцепления к верхнему упору 10.

Поверните эксцентриковый палец так, чтобы перемещение педали от верхнего упора, до момента касания толкателем поршня составило 6-12 мм, затем затяните и зашплинтуйте корончатую гайку.

Смазывание сцепления

Точки смазывания: 1 - пробка сливная; 2 - пробка заливная с указателем уровня масла; 3, 4 - пробки сливные с магнитом; 5 - пресс-масленка опоры; 6 - пресс-масленка выжимного подшипника; 7 - сапун

Втулки вала вилки выключения сцепления смазывайте через две пресс-масленки 5, а подшипник муфты выключения сцепления - через пресс-масленку 6, сделав шприцем не более трех ходов. В противном случае излишки смазки могут попасть в картер сцепления.

Контроль уровня жидкости «Нева» в компенсационном бачке главного цилиндра проводите визуально.

Нормальный уровень жидкости в бачке соответствует 15-20 мм от верхнего края бачка. Полный объем жидкости в гидроприводе сцепления составляет 380 см 3.

При сервисе "С" (осенью) смените жидкость в гидросистеме привода сцепления.

Ремонт

Прокачку гидросистемы привода сцепления проведите после устранения негерметичности гидропривода в следующем порядке:

  1. Очистите от пыли и грязи резиновый защитный колпачок клапана 14 (см. рис. 1) выпуска воздуха, снимите его и на головку клапана наденьте резиновый шланг, прилагаемый к автомобилю. Свободный конец шланга опустите в тормозную жидкость «Нева», налитую в чистый стеклянный сосуд.
  2. Резко 3-4 раза нажмите на педаль сцепления, а затем, оставляя педаль нажатой, отверните на ¼-1/3 оборота клапан выпуска воздуха.

Под действием давления через шланг выйдет часть жидкости и содержащийся в ней в виде пузырьков воздух.

  1. После прекращения выхода жидкости заверните клапан выпуска воздуха.
  2. Повторяйте операции по пп. 2 и 3 до тех пор, пока полностью не прекратится выделение воздуха из шланга.

В процессе прокачки необходимо добавлять в систему тормозную жидкость, не допуская снижения ее уровня в компенсационном бачке главного цилиндра более чем на 2/3 от нормального во избежание попадания в систему атмосферного воздуха.

После окончания прокачки, при нажатой педали сцепления, заверните до отказа клапан выпуска воздуха и только после этого снимите с его головки шланг и наденьте защитный колпачок.

Далее следует установить нормальный уровень жидкости в главном цилиндре.

Тормозная жидкость, которая выпущена из гидросистемы при прокачке, может быть использована вновь после отстоя и последующей, фильтрации.

Качество прокачки определяется величиной полного хода толкателя пневмогидроусилителя.

Проверьте наличие конденсата в силовом цилиндре пневмогидроусилителя.

Для слива конденсата отверните пробку в алюминиевом корпусе пневмогидроусилителя.

Для полного слива слегка нажмите на педаль сцепления.

Не реже чем один раз в три года рекомендуется промывать техническим спиртом или чистой тормозной жидкостью гидросистему привода сцепления с разборкой главного цилиндра и пневмогидроусилителя и заправлять свежей тормозной жидкостью.

Трубопроводы гидросистемы промойте спиртом или тормозной жидкостью и продуйте сжатым воздухом, предварительно отсоединив оба конца.

Перед сборкой поршни и манжеты гидросистемы смочите тормозной жидкостью.

Дефектные (затвердевшие, с повреждениями рабочих кромок и изношенные) манжеты и защитные чехлы замените.

При замене пневмогидроусилителя чехлы замените.

При замене пневмогидроусилителя привода сцепления для снятия пневмогидроусилителя:

  • - выпустите воздух из контура IV привода вспомогательной тормозной системы и других потребителей через клапан на ресивере;
  • - снимите оттяжную пружину рычага вала вилки выключения сцепления, отсоедините воздушный трубопровод пневмогидроусилителя, гидравлический шланг и слейте жидкость из системы гидропривода;
  • - выверните два болта крепления пневмогидроусилителя и снимите усилитель со штоком.

Для установки пневмогидроусилителя: совместите отверстия крепления с отверстиями картера сцепления и закрепите усилитель двумя болтами с пружинными шайбами; подсоедините гидравлический шланг пневмогидроусилителя и воздушный трубопровод: установите оттяжную пружину вала вилки выключения сцепления. Налейте тормозную жидкость в компенсационный бачок главного цилиндра и прокачайте систему гидропривода.

Проверьте герметичность соединений трубопроводов (подтекание тормозной жидкости из соединений не допускается), при необходимости устраните нарушение герметичности подтяжкой или заменой отдельных элементов соединений.

Проверьте и при необходимости отрегулируйте величину зазора между торцом крышки и ограничителем хода штока клапана включения делителя передач.

При снятии сцепления с двигателя после отсоединения коробки передач вверните предварительно в нажимной диск до упора в кожух четыре стяжных болта М10х1,25х62, а затем выверните болты крепления кожуха сцепления к маховику и снимите кожух с нажимным диском в сборе, средний и ведомые диски сцепления.

В случае замены отдельных деталей сцепления проверьте перед его установкой на двигатель положение упорного кольца оттяжных рычагов.

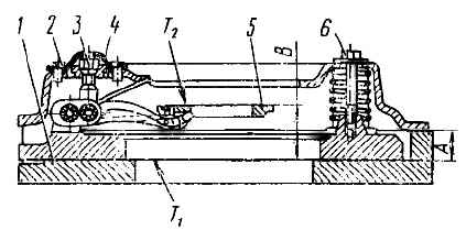
Нажимной диск с кожухом в сборе на контрольной подставке: 1 - подставка контрольная; 2 - болт; 3 - гайка регулировочная; 4 - пластина стопорная; 5 - кольцо упорное; 6 - болт стяжной: А - размер установочный; В - размер монтажный; Т1, Т2 - биение торцовое 

Для проверки нажимной диск в сборе установите и закрепите на контрольную подставку (рис. 4) или на маховик со вставкой, обеспечивающие установочный размер «А» = (29+0,1) мм, и отпустите стяжные болты.

Правильное положение упорного кольца определяется монтажным размером «В» = (54+0,3) мм, биение торца Т2 относительно Т1 должно быть не более 0,2 мм.

При нарушении положения упорного кольца отрегулируйте положение кольца на приспособлении с помощью гаек 3, восстановив размер «В», при этом опорные поверхности всех четырех оттяжных рычагов должны одновременно касаться упорного кольца.

Не регулируйте положение упорного кольца с помощью указанных гаек на двигателе.

Перед установкой сцепления на двигатель в полость переднего подшипника ведущего вала, расположенную в коленчатом валу, заложите 15 г смазки 158.

Устанавливайте сцепление с помощью шлицевой оправки, обеспечивающей соосное расположение осей ведомых дисков с осью коленчатого вала.

Обращайте внимание на правильное взаимное расположение ступиц ведомых дисков - короткими выступающими торцами навстречу друг другу.

Средний ведущий диск в сборе должен легко перемещаться в пазах маховика под действием оттяжных рычагов.

Нажимной диск с кожухом в сборе устанавливайте на маховик двигателя также без дополнительной подгонки, но без перекосов, добиваясь этого равномерной затяжкой болтов крепления с крутящим моментом 54-61,8 Нм (5,5-6,3 кгсм).

После того как будут затянуты болты крепления кожуха к маховику, выверните из нажимного диска стяжные болты.

Биение упорного кольца оттяжных рычагов относительно оси коленчатого вала должно быть не более 0,5 мм.