Система питания двигателя воздухом состоит из фильтра, уплотнителя, воздухозаборника, патрубков и труб, соединяющих воздухозаборник и воздухоочиститель с турбокомпрессорами

Ее конструкция определяется конфигурацией автомобиля.

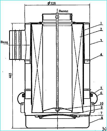
Фильтр воздушный: 1 - предочиститель; 2 - элемент фильтрующий; 3 - корпус; 4 завихритель; 5 - уплотнительное кольцо; 6 защелка; 7 перегородка бункера; 8 - крышка; 9 - заглушка; 10 - гайка

Фильтр воздушный (рисунок 1) сухого типа, двухступенчатый, предназначен для очистки поступающего в двигатель воздуха от пыли.

Он состоит из корпуса 3 с завихрителем 4, крышки 8 , предочистителя 1, фильтрующего элемента 2. Герметичность соединения крышки с корпусом обеспечивает уплотнительное кольцо 5.

Крышка крепится к корпусу четырьмя пружинными защелками 6. Основные детали фильтра изготовлены из листовой стали

толщиной 1,2 мм. Для повышения эффективности очистки воздуха, поступающего в двигатель, на фильтрующий элемент надевается предочиститель 1 - оболочка из нетканого фильтровального полотна.

Очистка воздуха в фильтре двухступенчатая.

Первая ступень очистки - моноциклон, содержащий завихритель 4 установленный за входным патрубком и обеспечивающий винтовое движение воздушного потока в кольцевом зазоре между корпусом фильтра и элементом 2.

За счет действия центробежных сил частицы пыли отбрасываются к стенке корпуса и сгоняются в бункер.

Пылесборный бункер образован крышкой 8, перегородкой 7 и съемной заглушкой 9.

Вторая ступень очистки - элемент фильтрующий 2, который имеет наружный и внутренний кожухи.

Они изготовлены из перфорированного стального листа и гофрированной фильтровальной бумаги, соединенный по торцам металлическими крышками, которые приклеены специальным клеем.

Фильтрующий элемент плотно прижат к днищу корпуса 3 и уплотняется торцовым резиновым кольцом.

Крепится фильтрующий элемент в корпусе самостопорящейся гайкой 10.

Предварительно очищенный в первой ступени воздух поступает во вторую ступень со сменным картонным фильтрующим элементом для более тонкой очистки, где, проникая через поры картона, оставляет на его поверхности мелкие частицы пыли.

Очищенный воздух через тройник поступает к двум центробежным компрессорам и, под избыточным давлением, через трубу охладителя наддувочного воздуха в цилиндры двигателя.

В системе питания двигателя воздухом предусмотрена установка индикатора засоренности фильтрующего элемента.

Если срабатывает индикатор засоренности, то необходимо провести обслуживание или замену фильтроэлемента воздушного фильтра.

Система газотурбинного наддува и охлаждения наддувочного воздуха, за счет использования части энергии отработавших газов, обеспечивает подачу предварительно сжатого и охлажденного воздуха в цилиндры двигателя.

Наддув позволяет увеличить плотность заряда воздуха, поступающего в цилиндры, и в том же рабочем объеме сжечь большее количество топлива и повысить литровую мощность двигателя.

Применение двигателей с наддувом расширяет эксплуатационные возможности при движении на затяжных подъемах, по пересеченной местности и в горных условиях.

Схема системы газотурбинного наддува и охлаждения наддувочного воздуха (ОНВ): 1 - теплообменник; 2 - радиатор системы охлаждения; 3 - вентилятор; 4 - двигатель; I - вход воздуха; II - выход отработавших газов через турбину компрессора; III - подача воздуха после воздухоочистителя

Система газотурбинного наддува двигателя (рисунок 2) состоит из двух взаимозаменяемых турбокомпрессоров (ТКР), выпускных и впускных коллекторов и патрубков, охладителя наддувочного воздуха (ОНВ) типа "воздух-воздух", подводящих и отводящих трубопроводов.

Воздух в центробежный компрессор турбокомпрессора поступает из воздухоочистителя, сжимается и подается под давлением в ОНВ, и затем охлажденный воздух поступает в двигатель.

Турбокомпрессоры устанавливаются на выпускных патрубках по одному на каждый ряд цилиндров. Выпускные коллекторы и патрубки изготовлены из высокопрочного чугуна.

Уплотнение газовых стыков между установочными фланцами турбины турбокомпрессоров, выпускных патрубков и коллекторов осуществляется прокладками из жаростойкой стали.

Прокладки являются деталями одноразового использования и при переборках системы подлежат замене.

Газовый стык между выпускным коллектором и головкой цилиндра уплотняется прокладкой из асбостального листа, окантованного металлической плакированной лентой.

Выпускные коллекторы выполняются цельнолитыми и крепятся к головкам цилиндров болтами и контрятся замковыми шайбами.

Для компенсации угловых перемещений, возникающих при нагреве, под головки болтов крепления выпускного коллектора устанавливаются специальные сферические шайбы.

Система турбонаддува и охлаждения наддувочного воздуха двигателя должна быть герметична.

Негерметичность системы приводит к увеличению теплонапряженности деталей, снижению мощности и ресурса двигателя.

Кроме того, негерметичность впускного тракта приводит к "пылевому" износу цилиндро-поршневой группы и преждевременному выходу двигателя из строя.

Смазка подшипников турбокомпрессоров осуществляется от системы смазки двигателя через фторопластовые трубки с металлической оплеткой.

Слив масла из турбокомпрессоров осуществляется через стальные трубки в картер двигателя.

На двигателе устанавливается два турбокомпрессора ТКР 7С-6.

Вместо турбокомпрессора ТКР7С-6 могут устанавливаться турбокомпрессоры S2B/7624TAE/0,76D9 фирмы “Schwitzer”.

Технические характеристики турбокомпрессоров приведены в таблице 2.

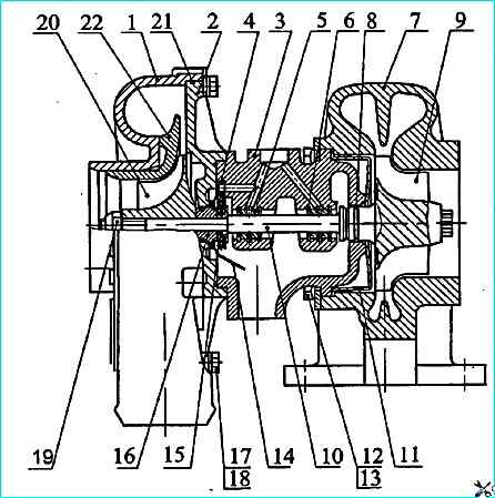
Турбокомпрессор ТКР7С-6: 1 - корпус компрессора; 2 - крышка; 3 - корпус подшипников; 4 - подшипник упорный; 5 - подшипник; 6 кольцо стопорное; 7 корпус турбины; 8 - кольцо уплотнительное; 9 колесо турбины; 10 вал ротора; 11 экран турбины; 12 - планка; 13 - болт; 14 - маслоотбрасывающий экран; 15 - втулка; 16 - маслоотражатель; 17 - планка; 18 - болт; 19 - гайка; 20 - колесо компрессора; 21 кольцо уплотнительное; 22 диффузор.

Турбокомпрессор ТКР 7С-6 состоит из центростремительной турбины и центробежного компрессора, соединенных между собой подшипниковым узлом.

Турбина с двухзаходным корпусом 7 (рисунок 3) из высокопрочного чугуна преобразовывает энергию выхлопных газов в кинетическую энергию вращения ротора турбокомпрессора, которая затем в компрессорной ступени превращается в работу сжатия воздуха.

Ротор турбокомпрессора состоит из колеса турбины 9 с валом 10, колеса компрессора 20, маслоотражателя 16 и втулки 15, закрепленных на валу гайкой 19.

Колесо турбины отливается из жаропрочного сплава по выплавляемым моделям и сваривается с валом трением.

Колесо компрессора с загнутыми по направлению вращения назад лопатками выполняется из алюминиевого сплава и, после механической обработки, динамически балансируется до величины (0,4 г мм).

Подшипниковые цапфы вала ротора закаливаются ТВЧ на глубину 1-1,5 мм.

После механической обработки ротор динамически балансируется до величины (0,5 г мм).

Техническая характеристика турбокомпрессоров

Техническая характеристика турбокомпрессоров

Втулка, маслоотражатель, колесо компрессора устанавливаются на вал ротора и затягиваются гайкой крутящим моментом 7,8-9,8 Нм (0,8-1,0 кгсм).

После сборки ротор дополнительно не балансируется, лишь проверяется радиальное биение цапф вала.

При значении радиального биения не более 0,03 мм на детали ротора наносятся метки в одной плоскости, и ротор допускается на сборку турбокомпрессора.

При установке ротора в корпус подшипников необходимо совместить метки на деталях ротора. Ротор вращается в подшипниках 5, представляющих собой плавающие вращающиеся втулки.

Осевые перемещения ротора ограничиваются упорным подшипником 4, защемленным между корпусом подшипников 3 и крышкой 2. Подшипники выполняются из бронзы.

Корпус подшипников турбокомпрессора с целью уменьшения теплопередачи от турбины к компрессору выполнен составным из чугунного корпуса и крышки из алюминиевого сплава.

Для уменьшения теплопередачи между корпусом турбины и корпусом подшипников устанавливается экран 11 из жаростойкой стали.

В корпусе подшипников устанавливается маслоотбрасывающий экран 14, который вместе с упругими разрезными кольцами 8 предотвращает утечку масла из полости корпуса.

Для устранения утечек воздуха в соединении "корпус компрессора - корпус подшипников" устанавливается резиновое уплотнительное кольцо 21.

Корпусы турбины и компрессора крепятся к корпусу подшипников с помощью болтов 13, 18 и планок 12, 17.

Такая конструкция позволяет устанавливать корпусы под любым углом друг к другу, что в свою очередь облегчает установку ТКР на двигателе.

Для автомобиля с турбонаддувным двигателем КамАЗ-5511: 1 - Колпак; 2 - Труба воздухозаборника; 3 - Уплотнитель; 4 - Воздухоочиститель; 5 - Кронштейн; 6, 9 -  Выпускные коллекторы; 7, 10 - Впускные коллекторы; 8 - Соединительный патрубок; 11 - Патрубок впускного коллектора; 12 - Правый турбокомпрессор; 13 - Правая приемная труба глушителя; 14 - Индикатор засоренности воздухоочистителя; 15 - Тройник; 16 - Левый турбокомпрессор; 17 - Левая приемная труба глушителя;18 -  Гайка крепления фильтрующего элемента; 19 - Держатель фильтрующего элемента; 20 -  Крышка воздухоочистителя; 22 - Корпус воздухоочистителя с пылеотбойником; 21 - Фильтрующий элемент; 23 - Колпак воздухозаборника; 24 - Диск; 25 - Сигнальный барабан

Обслуживание системы газотурбинного наддува и охладителя наддувочного воздуха

В процессе эксплуатации двигателя внешним осмотром проверяется герметичность трассы газопровода отработавших газов, подвода воздуха к двигателю.

Периодически проверяется надежность крепления деталей и узлов указанных систем, а при необходимости, производится подтяжка болтов, гаек крепления и хомутов.

Работа турбокомпрессора оказывает существенное влияние на параметры и работоспособность двигателя.

Неисправность турбокомпрессора может привести к поломке двигателя.

Несмотря на то, что турбокомпрессоры не требуют в эксплуатации регулировок, необходимо систематически выполнять установленные заводом-изготовителем правила технического обслуживания двигателя и периодически контролировать на слух работу турбокомпрессоров.

При ТО-2 необходимо проверить легкость вращения роторов турбокомпрессоров.

Для этого надо снять приемную трубу системы выпуска отработавших газов.

Затем проверить рукой, как вращается ротор в его крайних осевых и радиальных положениях.

Ротор должен вращаться легко, без заеданий и касаний о неподвижные детали турбокомпрессора.

Подшипники турбокомпрессора весьма чувствительны к количеству и чистоте масла, поэтому необходимыми условиями нормальной работы подшипникового узла являются своевременная замена масла и фильтрующих элементов масляного фильтра двигателя, а также применение рекомендованных заводом-изготовителем марок масел.

При сезонном техническом обслуживании турбокомпрессоры один раз в два года рекомендуется снять с двигателя для очистки центробежного компрессора.

Агрегат целесообразно снимать вместе с выпускным коллектором.

Очистку центробежного компрессора необходимо выполнить в следующей последовательности:

- на торцовые поверхности корпуса компрессора и крышки нанести совмещенные риски.

Отвернуть болты крепления корпуса компрессора. Легкими ударами деревянного молотка по бобышкам снять корпус компрессора.

Осмотреть резиновое уплотнительное кольцо в пазе крышки.

При обнаружении дефектов (надрезы, потеря упругости) уплотнительное кольцо заменить на новое;

  • - осмотреть лопатки колеса компрессора. При обнаружении следов контакта с корпусом компрессора, деформации лопаток или их разрушения турбокомпрессор подлежит ремонту на специализированном предприятии или замене;
  • - промыть внутреннюю полость корпуса компрессора, поверхность крышки ветошью смоченной в дизельном топливе.

При чистке колеса компрессора межлопаточные поверхности рекомендуется прочистить волосяной щеткой с использованием дизельного топлива;

  • - проверить легкость вращения ротора, заедание ротора не допускается;
  • - перед сборкой необходимо смазать уплотнительное кольцо моторным маслом, совместить риски, установить корпус компрессора на диск крышки, затянуть болты динамометрическим ключом.

Еще раз проверить легкость вращения ротора. В крайних осевых и радиальных положениях колеса ротора не должны контактировать с корпусными деталями.

Ввиду того, что ротор турбокомпрессора балансируется с высокой точностью, полная разборка, ремонт и обслуживание агрегатов наддува должны осуществляться на специализированных предприятиях, имеющих необходимое оборудование, инструменты, приспособления, приборы и квалифицированный персонал.

При сезонном техническом обслуживании необходимо слить накопившийся в ОНВ конденсат.