Пусковой подогреватель двигателя предназначен для прогрева двигателя перед его пуском при низкой окружающей температуре воздуха

Подогреватель работает на топливе, применяемом для двигателя

Подогреватель может прогревать двигатель, система охлаждения которого заполнена водой или антифризом.

Подогреватель установлен на двигателе с правой стороны (рис. 1).

Подогреватель представляет собой неразборный котел 15, состоящий из камеры сгорания, жаровой трубы, газохода и двух соединенных между собой жидкостных рубашек (теплообменника).

Котел постоянно включен в систему охлаждения двигателя.

Подогреватель: 1 - топливный бачок; 2 - пробка бачка; 3 - наливная воронка; 4 - регулировочная игла; 5 - электродвигатель с вентилятором; 6 - ручка управления краном; 7 - сливной кран трубопровода; 8 - соединитель проводов; 9 – конденсатор; 10 - шланг подвода воздуха; 11 - свеча накаливания; 12 - отводящая трубка от двигателя к котлу; 13 - лоток; 14 - сливной кран котла; 15 - котел подогревателя; 16 - трубка от электромагнитного клапана; 17 - подводящая трубка от котла к двигателю; 18 управления; 19 - контрольная спираль; 20 - выключатель свечи; 21 - ручка переключателя; 22 - трубка топливного бачка; 23 - электромагнитный клапан; 24 - кран

В камеру сгорания котла топливо подается из бачка 1 самотеком.

Для управления подачей топлива установлен электромагнитный клапан 23 с регулировочной иглой 4 и топливным фильтром.

Клапан работает следующим образом: когда переключатель 21 пульта управления выключен, сердечник под действием пружины перекрывает топливопровод; при включении переключателя ток поступает в катушку, сердечник оттягивается, и топливо беспрепятственно попадает в камеру сгорания подогревателя.

Воздух в камеру сгорания подается вентилятором, установленным под капотом двигателя.

Первоначально воспламенение смеси производится свечой накаливания 11.

После того как в камере установится устойчивое горение, свеча выключается, и дальнейшее горение топлива происходит от ранее зажженного пламени.

В цепь свечи последовательно включено дополнительное контрольное сопротивление, установленное на пульте управления подогревателем. По накалу спирали сопротивления судят о работе свечи.

После воспламенения топлива от свечи подогревателя, образующиеся горячие газы закрученным потоком проходят по жаровой трубе и отдают тепло подогреваемой жидкости, залитой в котел.

Газы, проходящие через выпускной патрубок, лотком 13 направляются под картер двигателя, где используются для обогрева масла в картере.

Жидкостная полость котла подогревателя посредством трубок 12 и 17 соединена с системой охлаждения двигателя.

На щите двигателя установлен в отдельном кожухе пульт 18 управления подогревателем, на котором установлены выключатель 20 свечи, контрольная спираль 19 и переключатель 21.

Переключатель имеет три положения:

  • - положение 0 — все выключено (ручка переключателя нажата до отказа);
  • - положение (I) — включен электродвигатель вентилятора (ручка вытянута на половину хода);
  • - положение (II) — включены электродвигатель вентилятора и магнитный клапан (ручка вытянута до отказа).

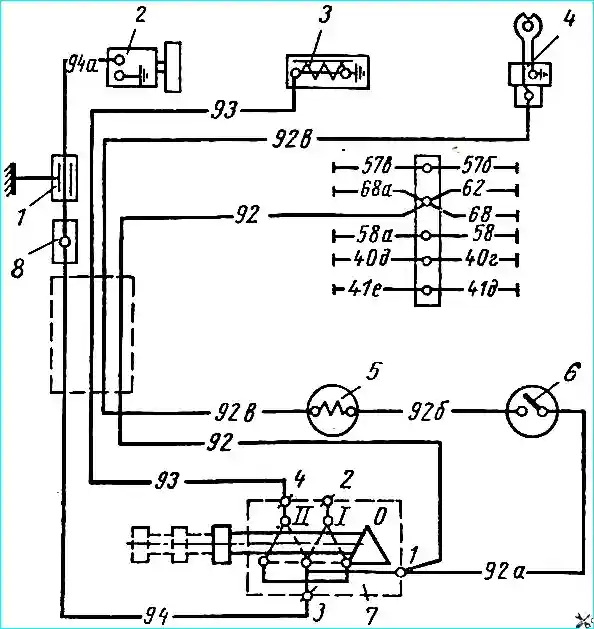
Электрическая схема пульта управления подогревателем показана на рис. 2.

Схема пульта управления подогревателем (Дополнение к схемам электрооборудования): 1 - конденсатор; 2 - электродвигатель вентилятора подогревателя; 3 - катушка электромагнитного клапана; 4 - свеча накаливания; 5 - контрольная спираль; 6 - выключатель свечи; 7- переключатель; 8 - соединитель (цифры с 92 по 94, включая цифры с буквенными обозначениями, написанные более мелко, указывают номера проводов схем)

Порядок пуска двигателя при применении пускового подогревателя

Порядок пуска двигателя при применении воды в качестве охлаждающей жидкости. Прогрев и пуск двигателя нужно производить в следующем порядке:

  • 1. Подготовить воду для заполнения всей системы охлаждения.
  • 2. Закрыть жалюзи радиатора, открыть капот двигателя, при сильном ветре принять меры к тому, чтобы открытый капот не был поврежден.
  • Отключить масляный радиатор и надеть утеплительный чехол на облицовку радиатора.
  • 3. Открыть пробки радиатора и заливной воронки подогревателя, закрыть кран котла подогревателя и кран трубопровода подогревателя.
  • Если краны замерзли, то следует закрыть их при прогреве двигателя, после того как из кранов пойдет вода.
  • Сливной кран радиатора оставить открытым.
  • 4. Если топливо в бачке отсутствует или его недостаточно, наполнить бачок. При наполнении бачка надо следить, чтобы он не был переполнен и чтобы не проливалось топливо. Емкость бачка 2 л.
  • 5. Залить 1,5 л воды в котел подогревателя через воронку 3 (см. рис. 1).
  • 6. Открыть кран 24.
  • 7. Переместить ручку 21 переключателя в положение (II) на 15—20 сек; при этом включается электродвигатель вентилятора, открывается электромагнитный клапан и асбестовая футеровка камеры сгорания смачивается бензином.

При очень низкой температуре это время надо увеличить до 60 сек.

Поставить переключатель в положение (0) и включить выключатель 20 свечи, оставляя его нажатым.

Как только контрольная спираль накалится до светло-красного цвета, происходит воспламенение бензина в камере сгорания; при этом будет слышен хлопок.

После хлопка пустить подогреватель, переместив ручку переключателя 21 в положение (II).

При достижении устойчивой работы подогревателя выключить свечу, отпустив выключатель 20.

  • 8. Если подогреватель по каким-либо причинам не начал работать, повторить его пуск.

В случае замерзания воды в трубках 12 и 17 (проверяется на ощупь) оттаивание ее нужно производить периодическим включением подогревателя на 1—2 мин с интервалами 2—4 мин и подачей вентилятором воздуха в котел подогревателя между включениями.

Нельзя допускать продолжительную работу подогревателя при замерзших трубках (более 2 мин).

  • 9. По истечении 1—2 мин после пуска подогревателя нужно дополнительно залить через воронку котла 6—8 л воды в двигатель, закрыть пробку воронки и продолжать прогрев двигателя. На время прогрева двигателя капот следует закрыть.

Если подогреватель при закрытом капоте глохнет, капот нужно оставить приоткрытым, подложив под него какой-либо предмет. Воду необходимо заливать аккуратно, не проливая ее на агрегаты электрооборудования.

  • 10. Когда вода в двигателе нагреется и появится пар из наливной горловины радиатора, провернуть несколько раз коленчатый вал двигателя пусковой рукояткой.

Вал готового к пуску двигателя легко проворачивается, причем на пусковой рукоятке отчетливо ощущается сопротивление компрессии.

  • 11. Выключить подогреватель, переведя ручку переключателя 21 в положение (I) (на продувку котла), и закрыть кран 24.

Примерно через 50—60 сек после прекращения гудения пламени в котле подогревателя выключить вентилятор, переместив ручку переключателя в положение 0.

Из-за несоблюдения указанного порядка выключения подогревателя могут произойти выброс пламени и подгорание воздухоподводящего шланга 10.

  • 12. Пустить двигатель, и закрыть сливной кран патрубка радиатора. Если он замерз, закрыть его после оттаивания при заливке воды.
  • 13. Прогревая двигатель на средних оборотах, налить дополнительно воды в двигатель через наливную воронку до полного ее заполнения и закрыть пробку воронки.

Затем налить воду в радиатор до заполнения объема системы охлаждения и закрыть пробку радиатора. При наличии расширительного бачка налить в него 2 л воды.

  • 14. После прогрева воды в системе охлаждения двигателя до температуры 60—70° С (по указателю температуры охлаждающей жидкости на щитке приборов) можно начинать движение автомобиля.
  • 15. Слив воды из системы охлаждения нужно производить через кран радиатора, кран 14 котла и кран 7 трубопровода подогревателя, повернув ручку 6 управления краном; при этом необходимо открывать пробку радиатора или расширительного бачка.

При наличии расширительного бачка надо сливать воду также через кран, расположенный в днище расширительного бачка.

Порядок пуска двигателя при использовании для охлаждения двигателя антифриза.

При применении в качестве охлаждающей жидкости антифриза подготовку к пуску двигателя следует вести, как было указано выше, за исключением пп. 1,3, 5, 9 и 13.