Вспомогательный тормоз состоит из привода и двух исполнительных механизмов, установленных в разъеме приемных труб глушителя системы выпуска газов

Механизм вспомогательного тормоза (рис. 2) включает в себя корпус 3, заслонку 11, вал 13 и рычаг 4.

Когда тормоз не включен, заслонка механизма расположена вдоль потока отработанных газов и оси приемных труб.

Схема вспомогательной тормозной системы: 2 - пневмоцилиндр отключения топлива; 4 - рычаг вала заслонки; 5 - пневмоцилиндры; 14 - глушитель; 21 - кран пневматический; 32 - цилиндр пневматический; 33 - вилка тяги привода; 3 - корпус; 35 - заслонка; 37 - шпонка; 38 - палец

Привод управления механизмами тормоза пневматический, состоит из крана (рис. 3), трех пневматических цилиндров (пневмоцилиндров) и трубопроводов, соединяющих их.

При нажатии на кнопку крана сжатый воздух по трубопроводам подается к двум пневмоцилиндрам (диаметр цилиндра 35 мм и ход поршня 65 мм — рис. 4), поршни которых устанавливают заслонки механизмов перпендикулярно к потоку отработавших газов.

Одновременно сжатый воздух подается в пневмоцилиндр 30х25 (рис. 5), установленный на крышке топливного насоса высокого давления, который отключает подачу топлива.

Механизм вспомогательного тормоза: 1, 12 - штифты; 2 - заклепка; 3 - корпус; 4 - рычаг вала заслонки; 5 - болт; 6 - стопорное кольцо; 7 - шайба; 8 - поджимная пружина; 9 - крышка; 10, 16 - гайки; 11 - заслонка; 13 - вал заслонки; 14 - втулки; 15 - шпонка; 16 - рычаг; 17 - шаровой палец

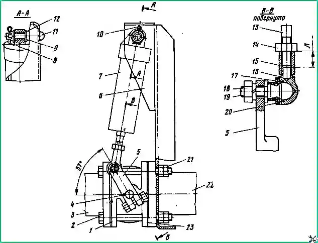
Механизмы вспомогательного тормоза 23 (рис. 6) прикреплены болтами 2 к фланцам в разъеме приемных труб 3 и 22 глушителя системы выпуска газов.

Этими же болтами к фланцам прикреплены кронштейны 6 для установки пневмоцилиндров 7.

Кран управления вспомогательным тормозом закреплен на панели передка кабины, а его кнопка расположена слева от педали сцепления.

Кран вспомогательной тормозной системы: а - устройство крана; b - положение деталей крана при торможении; 1, 11, 12 - упорные кольца; 2 - корпус; 3 - фильтр; 4 - тарелка; 5, 10, 14, 18 - уплотнительные кольца; 6 - втулка; 7 - защитный чехол; 8 - кнопка; 9 - толкатель; 13 - пружина; 15 - клапан; 16 - стержень клапана; 17 - направляющая; I - вывод к воздушному баллону; II - атмосферный вывод; III - вывод к пневмоцилиндрам

Узлы вспомогательного тормоза снимают и частично или полностью разбирают при обнаружении в них неисправностей, например заедания вала заслонки во втулках корпуса, износа деталей пневмоцилиндров, ослабления затяжки болтов крепления механизмов к приемным трубам и др.

Снятие и разборка вспомогательного тормоза

При снятии отвернуть гайку 18 шарового пальца 19 и отсоединить наконечник 15 от рычага 5.

Расшплинтовать и отвернуть гайку 8 пальца 11, снять шайбу и пневмоцилиндр 7 в сборе. Отвернуть контргайки и гайки четырех болтов 2, извлечь их, снять кронштейн 6, прокладки 1 и механизм 23 в сборе.

Для снятия пневмоцилиндра отключения подачи топлива расшплинтовать пальцы, соединяющие цилиндр с кронштейном и серьгу на штоке цилиндра с рычагом топливного насоса высокого давления, снять цилиндр в сборе.

Пневматический цилиндр 35х65 вспомогательного тормоза: 1 - шток; 2 - корпус цилиндра; 3 - уплотнительное кольцо; 4 - втулка; 5 - крышка цилиндра; 6 - поршень; 7 - манжета; 8, 10 - возвратные пружины; 9 - ограничитель хода поршня; 11 - днище поршня

При снятии крана отвернуть гайки и отсоединить от него трубопроводы.

Отвернуть гайку крепления крана к панели пола кабины и снять его. Детали вспомогательного тормоза, находясь в среде отработавших газов, частично корродируются, а зазоры между ними забиваются частицами сажи; поэтому для облегчения разборки вспомогательный тормоз следует выдержать в течение суток в керосине или дизельном топливе.

При разборке механизма, головку заклепки 2 (см. рис. 1) спилить напильником и с помощью выколотки диаметром 4 мм извлечь ее из вала и заслонки.

Закрепить механизм вспомогательного тормоза за рычаг 4 в тисках и, поворачивая корпус 3, снять его с вала 13.

Извлечь из корпуса заслонку 11.

Снять с корпуса крышку 9 и извлечь из него пружину 8, шайбу 7 и стопорное кольцо 6. Отвернуть гайку 10 стяжного болта 5 и снять с вала 13 рычаг 4 и шпонку 15.

С помощью выколотки диаметром 3,5 мм выбить из корпуса штифты 1 и 12 и извлечь втулки 14.

Втулку из глухого отверстия корпуса можно извлечь гидравлическим способом (рис. 164) с применением консистентной смазки.

В качестве стержня можно использовать ось заслонки.

Пневматический цилиндр 30х25 отключения подачи топлива: 1 - втулка; 2 - крышка цилиндра; 3 - уплотнительное кольцо; 4 - манжета; 5 - поршень; 6 - пружина; 7 - ограничитель хода поршня; 8 - цилиндр; 9 - шток

При разборке пневмоцилиндра 35х65 привода механизма его надо закрепить в тиски за крышку 5 (рис. 161) и отвернуть корпус 2, снять уплотнительное кольцо 3.

Выдвинуть на 10—15 мм из цилиндра днище поршня 6 и закрепить его в ослабить контргайку 14 (см. рис. 6).

Отвернуть наконечник 15 и контргайку.

Извлечь из цилиндра поршень 6 (см. рис. 4) в сборе со штоком 1 и пружины 8 и 10.

Снять со штока 1 ограничитель 9, а с поршня — манжету 7. При необходимости разобрать наконечник.

Прежде чем разбирать цилиндр 30х25 отключения подачи топлива, надо отвернуть гайку и отсоединить от штока серьгу останова.

Затем нижнюю часть цилиндра 8 (см. рис. 5) зажать в тисках, отвернуть крышку 2 и извлечь поршень 5 в сборе со штоком 9 и пружину 6.

Снять с поршня манжету 4, а со штока — ограничитель 7.

Установка вспомогательного тормоза: 1 - прокладка; 2 - болт; 3, 22 - приемные трубы глушителя; 4 - шпонка; 5 - рычаг вала заслонки; 6 - кронштейн пневмоцилиндра; 7 - пневмоцилиндр 35х65; 8 - спецгайка; 9 - шайба; 10 - шплинт; 11 - палец; 12 - втулка резиновая; 13 - шток пневмоцилиндра; 14, 18, 21 - гайки; 15 - наконечник; 16 - кольцо стопорное; 17 - кольцо пружинное; 19 - шаровой палец; 20 - уплотнитель; 23 - механизм вспомогательного тормоза; Л - длина свинчивания

При разборке крана (см. рис. 3) закрепить его нижнюю часть в тисках.

Отсоединить нижнюю часть чехла 7 от втулки 6.

В образовавшуюся щель извлечь упорное кольцо 11.

Потянуть за кнопку 8 и извлечь из корпуса толкатель 9 в сборе с чехлом 7, втулкой 6, уплотнительными кольцами 5, 10 и 14 и тарелкой 4 пружины.

Извлечь из корпуса пружину 13.

Переставить кран в тисках так, чтобы был доступ к нижней части крана.

Снять упорное кольцо 1, извлечь из корпуса направляющую клапана 17,и уплотнительное кольцо 18.

Извлечь из направляющей 17 впускной клапан 15 со стержнем 16 и пружину клапана.

Снять с толкателя 9 уплотнительные кольца 10,- 14, тарелку 4, упорное кольцо 12 и втулку 6.

Детали пневмоцилиндров, механизмов и крана необходимо промыть в бензине, затем просушить и тщательно осмотреть.

Гидравлический способ выпрессовки втулки из глухого отверстия: 1 - стержень; 2 - втулка; 3 - консистентная смазка

Прокладки между фланцами приемных труб и механизмов вспомогательного тормоза не должны иметь разрывов, расслоений и других повреждений.

Разрывы, глубокие риски, затвердевание и остаточная деформация, а также другие повреждения деталей из резины не допускаются.

Данные для контроля деталей механизма вспомогательного тормоза и пневмоцилиндров приведены в табл.1.

Таблица 1

Втулка. Внутренний диаметр:

  • - номинальный размер - 14+0,050 мм;
  • - допустимый размер - 14,10 мм

Вал заслонки. Наружный диаметр:

  • - номинальный размер - 14-0,060 мм;
  • - допустимый размер - 13,80 мм

Шаровой палец. Диаметр сферической поверхности:

  • - номинальный размер - 12-0,120 мм;
  • - допустимый размер - 11,75 мм

Наконечник тяги привода вспомогательного тормоза. Диаметр отверстия под шаровой палец:

  • - номинальный размер - 12+0,160 мм;
  • - допустимый размер - 12,25 мм

Собрать агрегаты вспомогательного тормоза и установить их на автомобиль в порядке, обратном разборке и снятию с автомобиля.

При этом необходимо выполнить следующие требования:

  • - вал заслонки во втулках должен вращаться свободно без заеданий. Смазывание вала и втулок категорически запрещено;
  • - наконечник 15 (см. рис. 6) и шаровой палец 19 смазать тонким слоем графитной смазки;
  • - смазать тонким слоем смазочного материала ЦИАТИМ-221: у крана управления вспомогательным тормозом толкатель 9 (см. рис. 3) в сборе с уплотнительными кольцами, втулку 6 и корпус 2 в месте контакта со штоком; у пневмоцилиндров поршень в сборе с уплотнительным кольцом, шток и цилиндр.

Пневмоцилиндры после сборки проверить на герметичность под давлением воздуха 5,3 кгс/см 2.

Места утечки воздуха определять мыльной эмульсией, которую после проверки удалить.

При проверке необходимо замерить также ход штоков, который у пневмоцилиндров 35х65 должен быть 65 мм, а у пневмоцилиндра 30х25 — 25 мм.

Штоки под действием пружин должны без заеданий возвращаться в исходное положение.

При установке механизма вспомогательного тормоза на автомобиль надо отрегулировать длину свинчивания штока "Л" (см. рис. 6) так, чтобы при нахождении поршня пневмоцилиндра в крайнем верхнем положении шпонка 4 располагалась вдоль оси приемных труб. При этом заслонка механизма будет полностью открыта.

Следует также проверить затяжку болтов крепления приемных труб системы выпуска газов, и при необходимости подтянуть болты крепления приемных труб к выпускным газопроводам двигателя.