Система охлаждения (Рисунок 1) - жидкостная, закрытая, с принудительной циркуляцией охлаждающей жидкости

Система включает в себя водяные рубашки в блоке цилиндров и в головке цилиндров, водяной насос, термостат, радиатор, жидкостно-масляный теплообменник, расширительный бачок со специальной пробкой, вентилятор с муфтой, краники слива ОЖ на блоке цилиндров и радиаторе, датчики: температуры охлаждающей жидкости (системы управления), указателя температуры ОЖ, сигнализатора перегрева ОЖ.

Наиболее выгодный температурный режим охлаждающей жидкости лежит в пределах 80 - 90 °С.

Указанная температура поддерживается при помощи термостата, действующего автоматически.

Схема системы охлаждения двигателя ЗМЗ-5143.10 автомобиля УАЗ

Поддержание термостатом правильного температурного режима в системе охлаждения оказывает решающее влияние на износ деталей двигателя и экономичность его работы.

для контроля температуры охлаждающей жидкости в комбинации приборов автомобиля имеется указатель температуры, датчик которого ввернут в корпус термостата.

Кроме того, в комбинации приборов автомобиля имеется сигнализатор аварийной температуры, загорающийся красным цветом при повышении температуры жидкости свыше плюс 102 - 109°С.

При загорании сигнализатора не следует немедленно останавливать двигатель, во избежание его поломки.

Необходимо перевести работу двигателя на холостой ход при частоте коленчатого вала 1500 - 2000 мин-1 на 3 - 5 мин для снижения температуры и лишь после этого остановить двигатель, выявить и устранить причину перегрева охлаждающей жидкости.

Водяной насос ЗМЗ-5143

Водяной насос (Рисунок 2) центробежного типа расположен и закреплен на крышке цепи.

Подшипник 7 отделен от охлаждающей жидкости самоподжимным сальником 4 неразборной конструкции, в котором расположены манжета и уплотняющая шайба.

Жидкость, просачивающаяся через сальник, не попадает в подшипник, а вытекает наружу через контрольное отверстие 6.

Подшипник от перемещения удерживается фиксатором 2, который завернут до упора и закернен.

Подшипник заполняется смазкой при сборке и в процессе эксплуатации добавления смазки не требуется.

Ступица 1 и крыльчатка 5 напрессованы на валик подшипника.

Привод водяного насоса и генератора осуществляется поликлиновым ремнем 6РК 1220.

Натяжение ремня производится изменением положения натяжного ролика 3 (Рисунок 3).

Привод вентилятора и насоса ГУР осуществляется поликлиновым ремнем 6РК 925.

Натяжение ремня производится изменением положения шкива насоса ГУР.

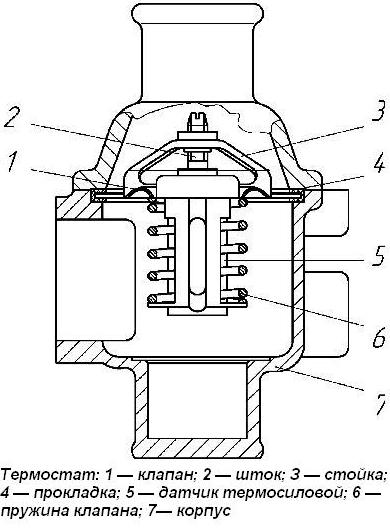
Термостат двигателя ЗМЗ-5143.10

Термостат (Рисунок 3) с твердым наполнителем, одноклапанный, типа ТС 108-01 расположен в корпусе, установленном на выходном отверстии головки цилиндров, и соединен шлангами с водяным насосом и радиатором.

На стойке 3 термостата, неподвижно закрепленной в корпусе 7, установлен шток 2, входящий внутрь термосилового датчика 5.

В исходном состоянии на холодном двигателе пружина 5 прижимает клапан 1 к седлу, и циркуляция жидкости осуществляется по малому кругу через теплообменник во всасывающую полость водяного насоса, а затем в двигатель, минуя радиатор.

Клапан термостата начинает открываться при температуре охлаждающей жидкости 80 ± 2˚С.

При температуре 94˚ С он полностью открыт.

При этом большая часть жидкости проходит через крышку термостата в радиатор.

Привод вентилятора (Рисунок 4) расположен и закреплен на передней крышке головки цилиндров и служит для закрепления вентилятора и шкива вентилятора на двигателе.

В корпусе привода вентилятора З располагается подшипник 2 с валом.

Подшипник удерживается в корпусе с помощью специального герметика и кольца на корпусе подшипника.

На вал подшипника напрессована ступица привода вентилятора 1, на которой крепится шкив вентилятора и вентилятор с муфтой.

Подшипник заполняется смазкой на заводе—изготовителе, поэтому в процессе эксплуатации добавления смазки не требуется.

Привод вентилятора двигателя ЗМЗ-5143.10

Уход за системой охлаждения заключается в ежедневной проверке уровня охлаждающей жидкости в расширительном бачке на холодном двигателе и герметичности системы охлаждения, проверке и регулировке натяжения ремня привода агрегатов и ремня привода вентилятора (см. выше), периодической замене охлаждающей жидкости с промывкой системы охлаждения.

Недопустимо в качестве охлаждающей жидкости использовать воду.

Применение воды приводит к коррозии и образованию накипи в системе охлаждения, что ухудшает теплоотвод от деталей двигателя и приводит к снижению мощности, увеличению расхода топлива и интенсивному износу деталей.

В холодное время года замерзание воды в системе охлаждения приведет к поломке блока цилиндров и головки цилиндров.

Схема приводов вспомогательных агрегатов ЗМЗ-5143.10

Использование воды допускается только в исключительных случаях и в течение короткого промежутка времени, например, в случае значительной утечки ОЖ.

При этом неизбежно понизится плотность смеси и повысится температура ее замерзания, поэтому при первой же возможности необходимо слить смесь и залить свежую ОЖ.

Проверку уровня охлаждающей жидкости рекомендуется производить при температуре в системе плюс 15-20˚С, так как охлаждающая жидкость имеет высокий коэффициент теплового расширения и ее уровень в расширительном бачке значительно меняется в зависимости от температуры. Уровень жидкости в расширительном бачке должен быть по метке «МI» или выше ее на 3-4 см.

При необходимости долить охлаждающую жидкость в расширительный бачок.

При понижении уровня охлаждающей жидкости в результате испарения для сохранения плотности ОЖ следует доливать дистиллированную воду (не допускается доливать жесткую воду!).

При понижении уровня охлаждающей жидкости в результате утечки следует доливать охлаждающую жидкость той же марки, выпущенной по тем же ТУ.

В случае частой доливки проверить герметичность системы.

Перед началом зимней эксплуатации (при сезонном обслуживании) следует проверять плотность ОЖ в системе охлаждения с помощью ареометра при температуре плюс 20˚С, которая должна быть следующей:

ОЖ-40 «Лена», Тосол-А40М -  1,075-1,085 г/см3

ОЖ-65 «Лена», Тосол-А65М - 1,085-1,100 г/см3

Термосол марки А-40 - 1,070 -1,090 г/см3

Термосол марки А-65 - 1,075 -1,095 г/см3

При несоответствии плотности указанным величинам охлаждающая жидкость замерзает при более высокой температуре, при этом необходимо заменить ОЖ.

Периодически необходимо производить замену охлаждающей жидкости, так как она начинает терять антикоррозионные свойства.

Период замены ОЖ «Лена» и Тосола три года, Термосола — десять лет.

Замену охлаждающей жидкости необходимо производить с промывкой системы охлаждения.

Порядок замены охлаждающей жидкости следующий:

Слить охлаждающую жидкость, для чего необходимо:

- установить автомобиль на горизонтальную площадку;

- установить рычаг управления краном отопителя салона в крайнее правое положение;

- снять пробку заливной горловины радиатора 8 (Рисунок 1) и расширительного бачка 10;

- слить охлаждающую жидкость из системы, открыв краник слива на блоке цилиндров 18 и сливную пробку радиатора 14;

- продуть сжатым воздухом полость теплообменника через шланг отвода ОЖ от теплообменника, предварительно отсоединив его.

Убедиться в отсутствии ОЖ в двигателе.

Подсоединить шланг отвода ОЖ от теплообменника, закрепить хомутом;

- закрыть краник слива ОЖ блока цилиндров и завернуть сливную пробку радиатора.

Промыть систему охлаждения в следующем порядке:

- заполнить систему охлаждения чистой водой (недопустимо использовать жесткую воду!) и завернуть пробки заливной горловины радиатора и расширительного бачка;

- запустить двигатель и прогреть его при средней частоте вращения коленчатого вала до рабочей температуры (плюс 80-90˚С), дать двигателю поработать 3-5 мин;

- заглушить двигатель и слить воду;

- повторить вышеперечисленные операции промывки еще один раз, используя, свежую воду.

Произвести заправку системы охлаждения в следующей последовательности:

- закрыть краник слива охлаждающей жидкости блока цилиндров и завернуть сливную пробку радиатора;

- рычаг управления краником отопителя салона установить в крайнее правое положение;

- заполнить свежей охлаждающей жидкостью рекомендуемой марки радиатор на 10-15 мм ниже горловины и расширительный бачок на 3-4 см выше метки «MIN».

для удаления воздушных пробок после заливки свежей охлаждающей жидкости сделать следующее:

- запустить двигатель, прогреть до рабочей температуры, после уменьшения уровня жидкости в верхнем бачке радиатора долить в него и закрыть пробку заливной горловины радиатора;

- заглушить двигатель, дать ему остыть, довести уровень охлаждающей жидкости в расширительном бачке до нормы и закрыть пробку расширительного бачка;

- прогреть двигатель до открытия термостата, и поработать на холостом ходу с перегазовками, в течение 10-15 мин, и снова довести уровень «ОЖ» в расширительном бачке до нормы.

Возможными неисправностями насоса могут быть: течь жидкости в контрольное отверстие 6 (Рисунок 2) в результате износа кольца скольжения сальника 4, уменьшения усилия пружины сальника, износа подшипника 7, раковин и трещин на рабочем торце втулки крыльчатки 5.

Течь жидкости устранять установкой деталей ремонтного комплекта для водяного насоса дизельного двигателя, в который входят: подшипник, сальник и крыльчатка. Для этого необходимо разобрать насос.

Разборка насоса производится в следующем порядке:

Снятие крыльчатки водяного насоса

Снятие ступицы водяного насоса

— с помощью съемника снять крыльчатку (Рисунок 6);

— с помощью специального приспособления снять ступицу шкива насоса (Рисунок 7);

Выпрессовка подшипника с валиком водяного насоса

— вывернуть фиксатор подшипника (2, Рисунок 2);

— выпрессовать из корпуса подшипник (Рисунок 8). Выпрессовку подшипника производить на прессе или с помощью медной оправки;

— выпрессовать сальник из корпуса.

Сборка насоса производится в следующем порядке:

Запрессовка сальника водяного насоса

Запрессовка подшипника с валиком водяного насоса в корпус

— с помощью оправки установить сальник в корпус насоса, не допуская перекоса, предварительно смазав наружную поверхность сальника чистым моторным маслом;

— с помощью оправки запрессовать подшипник с валиком в сборе в корпус так, чтобы гнездо под фиксатор на обойме подшипника совпало с отверстием в корпусе насоса;

Напрессовка ступицы шкива водяного насоса на вал

— завернуть фиксатор подшипника и закернить, чтобы не происходило самоотворачивания фиксатора;

— напрессовать на валик подшипника ступицу шкива насоса, выдержав размер (106,0 ± 0,2) мм;

Напрессовка крыльчатки водяного насоса

— напрессовать крыльчатку на валик подшипника, выдержав размер между торцом крыльчатки и торцом корпуса насоса не более 14,2 мм;

— провернуть крыльчатку вместе с валиком. Задевание крыльчатки за корпус не допускается.

При напрессовке ступицы и крыльчатки необходимо разгружать корпус, фиксатор и подшипник насоса от усилий запрессовки, т.е. упор при напрессовке должен осуществляться на торец валика.

При запрессовке подшипника в корпус усилие допускается прикладывать только к наружной обойме подшипника.

Не допускается производить запрессовку за валик подшипника.

При установке насоса на двигатель прокладку водяного насоса необходимо заменить.