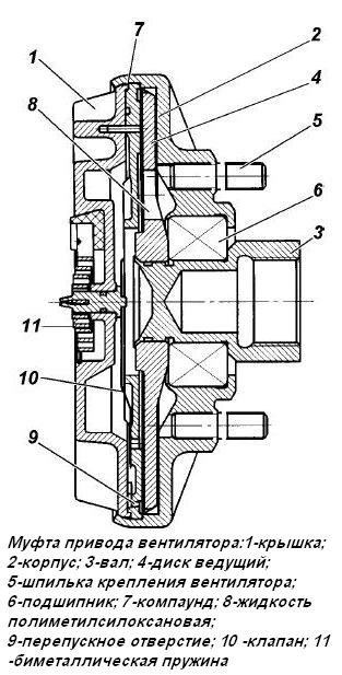
Муфта привода вентилятора (рис.1). Наружную поверхность муфты следует содержать в чистоте для обеспечения отвода тепла, выделяющегося в процессе работы муфты,

и нормальной работы биметаллической пружины клапана. Включение и выключение муфты происходит автоматически.

Муфта привода вентилятора

В случае, если муфта перестает включаться или включается не полностью, двигатель может перегреваться.

Если в процессе эксплуатации муфта перестанет работать, отсоедините ее от ступицы (соединение муфты со ступицей имеет левую резьбу), снимите вентилятор, выверните из корпуса муфты две шпильки крепления вентилятора, слейте рабочую жидкость через отверстия шпилек и тщательно промойте внутреннюю полость муфты бензином.

Дайте бензину полностью стечь, затем залейте в муфту через одно из отверстий 40 г полиметилсилоксановой жидкости ПМС-10000 ТУ 6- 02-737-78.

Второе отверстие должно быть открытым для выхода воздуха. После этого заверните шпильки в корпус, закрепите вентилятор и установите муфту на ступицу шкива привода вентилятора.

Снятие и установку  вязкостной муфты смотрим в статье - " Снятие и установка вязкостной муфты"