Запорное устройство, предназначенное для соединения гидросистемы автосамосвала-тягача КамАЗ-55102 с гидросистемой прицепа, состоит из двух корпусов 1 и 7, один из которых соединен с нагнетательной магист­ралью тягача, другой — прицепа.

В случае работы автосамосвала с прицепом обе части соединены между собой гайкой 5.

При этом шарики 3 и 4 запорных клапанов отжаты друг другом от опорных поясков и не мешают протеканию масла.

При рабо­те без прицепа необходимо отсоединить его магистраль, для чего достаточно отвернуть гайку.

При этом шарики под воздействием пружин перекроют отверстия в корпусах и предотвратят вытекание масла из гидро­системы

Запорное устройство:1 — корпус запорного устройства тягача, 2,6 — пружины, 3,4 — шарики, 5 — гайка, 7 — корпус запорного устройства прицепа, 8 — заглушка прицепа, 9 — заглушка тягача

Работа гидросистемы механизма подъема платформы

Гидросистема механизма подъема платформы работает следующим образом.

Для включения коробки отбора мощности выключают сцепление и ставят выключа­тель 13 во включенное положение (при этом загорается контрольная лампа 14).

Ток через термобиметалличес­кий предохранитель 16 поступает к обмотке электромагнита электропневмоклапана 6, сердечник которого, перемещаясь, откры­вает клапан.

Воздух из пневмосистемы поступает в полость пневмокамеры 4 коробки отбора мощности.

При включении сцепления масляный насос 2 начинает работать.

Масло из бака 1 через всасываю­щую и нагнетающую полости насоса посту­пает по трубопроводу в кран управления 7, а затем сливается в бак.

Такая циркуляция масла способствует его разогреву в зимнее время, что улучшает условия работы гидросистемы механизма подъема.

Рис. 2  Схема механизма подъема платформы автомобиля-самосвала КамАЗ-5511: 1 - масляный бак, 2 - масляный насос; 3 - коробка отбора мощности, 4,8,9 - пневмокамеры, 5 - предохранительный клапан гидросистемы; 6, 10, 11 - электропневмоклапаны, 7 - кран управления, 12 - переключатель подъема 11 и опускания 1 платформы, 13 - выключатель коробки отбора мощности, 14 - контрольная лампа включения коробки отбора мощности, 15 - аккумуляторные батареи, 16 - предохранитель, 17 - гидроци­линдр, 18 - клапан ограничения подъема платформы, 19 - предохранительный клапан фильтра, 20 - фильтр

Для подъема платформы автомобиля-самосвала КамАЗ-5511 переводят пере­ключатель 12 в положение 11.

При этом ток проходит через обмотки электропневмоклапанов 10 и 11, сердечники которых, перемещаясь, открывают клапаны.

Воздух из пневмосистемы подается к пневмокамерам 8 и 9 крана управления 7.

Масло из крана управления поступает по трубопро­водам в гидроцилиндр 17.

Под давлением масла звенья гидроцилиндра последова­тельно выдвигаются, поднимая платформу.

По мере подъема платформы гидроцилиндр наклоняется; при достижении максимального угла наклона корпус гидро­цилиндра нажимают на регулировочный винт клапана 18 ограничения подъема платформы и масло через клапан сливает­ся в бак.

Подъем платформы прекра­щается.

Для остановки платформы в промежу­точном положении переводят переключа­тель 12 в нейтральное положение.

При этом электропневмоклапаны 10 не выключают­ся, воздух выходит из рабочих полостей пневмокамер 8 и 9 в атмосферу, магистраль гидроцилиндра закрывается, а нагнетаю­щая полость крана управления сообщает­ся со сливной магистралью и масло от на­соса сливается через кран управления в бак.

Для опускания платформы переводят переключатель 12 в положение 1. Ток проходит по обмотке электропневмоклапана 6, сердечник которого, перемещаясь, откры­вает клапан.

Воздух из пневмосистемы поступает в пневмокамеру 8 крана управ­ления, а масло через кран управления сливается из гидроцилиндра в бак.

По окончании опускания платформ необходимо установить выключатель 13 в выключенное положение (предварительно выключив сцепление). Масляный насос прекращает работу.

Следует отметить, что опускание платформы возможно как при работающем насосе, так и в том случае, когда масляный насос уже отключен вы­ключателем 13.

Принцип подъема и опускания плат­формы автомобиля-самосвала КамАЗ-55102 аналогичен работе механизма подъ­ема и опускания платформы КамАЗ-5511.

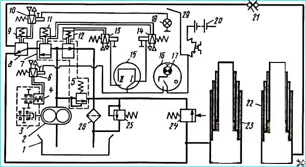
Для подъема платформы прицепа после включения коробки отбора мощности включают переключатель 19 в кабине автомобиля-самосвала КамАЗ-55102 (при подъеме платформы тягача он должен быть выключен); при этом загорит­ся контрольная лампа 18.

Ток поступает к обмотке электромагнита, сердечник кото­рого, перемещаясь, открывает электропневмоклапан 10, воздух из пневмосистемы поступает в пневмокамеру 9 гидрораспре­делителя, магистраль гидроцилиндра тяга­ча перекрывается, но открывается проход маслу в гидроцилиндр 22 прицепа.

Даль­нейшие операции по подъему и опусканию платформы прицепа аналогичны операци­ям по подъему и опусканию платформы тягача.

По окончании работы механизма подъема платформы прицепа необходимо выключить переключатель 19, при этом погаснет контрольная лампа 18. Следует отметить, что возможна только поочеред­ная работа гидроцилиндров тягача и прицепа.

Схема механизма подъема платформы автомобиля-самосвала КамАЗ-55102 при работе в составе автопоезда: 1 — масляный бак, 2 — насос, 3 — коробка отбора мощности, 4, 9, 11, 12 — пневмокамеры, 5 — предохрани­тельный клапан гидросистемы, 6, 10, 13, 14 — электропневмоклапаны, 7 — кран управления, 8 — распреде­литель, 15 — переключатель подъема 11 и опускания 1 платформы, 16 — выключатель коробки отбора мощности, 17 — контрольная лампа включения коробки отбора мощности, 18—контрольная лампа, 19 — переключатель распределителя гидросистемы на тягач или на прицеп, 20—источник тока напряжением 24 В, 21 — запорное устройство, 22 — гидроцилиндр прицепа, 23 — гидроцилиндр тягача, 24 — ограничи­тельный клапан, 25 — предохранительный клапан фильтра, 26 — фильтр
Схема механизма подъема платформы автомобиля КамАЗ-5511: 1 – масляный бак; 2 – масляный насос; 3 – коробка отбора мощности (КОМ); 4 – пневмокамера; 5 – электропневмоклапан; 6 – кран управления; 7 – пневмокамера; 8 – распределительный кран; 9 – контрольная лампа; 10 – переключатель распределителя гидросистемы на тягач или прицеп; 11 – переключатель механизма подъема и опускания платформы; 12 – контрольная лампа включения «КОМ»; 13 – выключатель «КОМ»; 14 – предохранитель; 15 – источник тока напряжением 24 В; 16 – предохранительный клапан гидросистемы; 17 – фильтр; 18 – предохранительный клапан фильтра; 19 – клапан ограничения подъема платформы; 20 – гидроцилиндр тягача; 21 – гидроцилиндр прицепа

Еще одна схема подъема платформы Камаз 5511 

Схема механизма подъема платформы автомобиля КамАЗ-55102: 1 – масляный бак; 2 – масляный насос; 3 – коробка отбора мощности (КОМ); 4 – пневмокамера; 5 – электропневмоклапан; 6 – кран управления; 7 – пневмокамера; 8 – распределительный кран; 9 – контрольная лампа; 10 – переключатель распределителя гидросистемы на тягач или прицеп; 11 – переключатель механизма подъема и опускания платформы; 12 – контрольная лампа включения «КОМ»; 13 – выключатель «КОМ»; 14 – предохранитель; 15 – источник тока напряжением 24 В; 16 – предохранительный клапан гидросистемы; 17 – фильтр; 18 – предохранительный клапан фильтра; 19 – клапан ограничения подъема платформы; 20 – гидроцилиндр тягача; 21 – гидроцилиндр прицепа

Еще одна схема подъема платформы Камаз 55102