Смеситель предназначен для приготовления газовоздушной смеси, регулирования подачи газа и в конечном счете получения заданной частоты вращения коленчатого вала; представляет собой цилиндрический корпус 2 (рис.1), в который вставлен диффузор 1
Для подвода газа в диффузоре выполнен коллектор в виде радиальных отверстий.

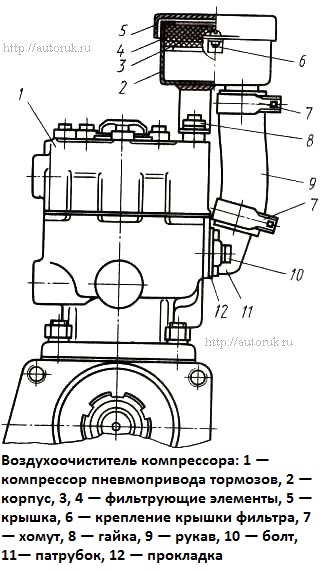
Воздухоочиститель компрессора
На газодизельных двигателях КамАЗ забор воздуха в компрессор пневмопривода тормозов осуществляется из атмосферы.
Для очистки атмосферного воздуха от пыли применяют воздухоочиститель сухого типа.
Он состоит из корпуса 2 (рис.2), крышки 5, фильтрующих элементов 3 и 4. Крышка крепится к корпусу в двух точках с помощью винта, гайки и шайбы.
Очистка воздуха в воздухоочистителе производится фильтрующими элементами 3 и 4.
Фильтрующий элемент 4 изготовлен из нетканого клееного полотна «Сипрон», фильтрующий элемент 3 — из фильтровального нетканого материала ИФПВД (иглопробивное фильтровальное полотно для воздухоочистителей дизелей).
Воздух, попадая из-под крышки в первый фильтроэлемент 4, очищается от крупных частиц и поступает во второй фильтроэлемент 3 для более тонкой очистки.
Очищенный воздух через рукав и патрубок поступает в компрессор.
