Генератор работает совместно с реле-регулятором РР-130 на автомобилях ГАЗ-53А и ГАЗ-66 и с реле регулятором РР-111 на экранированном автомобиле

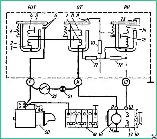
Реле-регулятор состоит из трех приборов: реле обратного тока, регулятора напряжения и ограничителя тока. Общий вид реле-регулятора РР130 показан на рис. 1.

Реле регулятор РР-130: 1 - сопротивление 30 Ом; 2 - клемма; 3 - резиновый амортизатор; 4 - винт клеммы; 5 - реле обратного тока; 6 - стойка неподвижных контактов реле обратного тока; 7 - якорь реле обратного тока; 8 - стойка неподвижного контакта ограничителя тока; 9 - уплотнительная прокладка; 10 - крышка; 11 - ограничитель тока; 12 - якорь ограничителя тока; 13 - якорь регулятора напряжения; 14 - стойка неподвижного контакта регулятора напряжения; 15 - регулятор напряжения; 16 - изолятор стойки; 17 - изолятор; 18 - сопротивление 80 Ом; 19 - сопротивление 13 Ом; 20 - основание

Реле-регулятор имеет три зажима, а реле-регулятор РР 111 имеет четыре штепсельных разъема для присоединения проводов.

Реле-регулятор РР 111 имеет дополнительную клемму «К», для подключения контрольной лампы разряда.

Внутри реле-регулятора клемма «К» соединена с ярмом реле обратного тока.

Схема реле-регулятора и его соединения с генератором и аккумуляторной батареей: 1 - обмотка реле обратного тока; 2 - ярмо реле обратного тока; 3 - пружина; 4 - шунтовая обмотка; 5 - якорь реле обратного тока; 6 - контакты реле обратного тока; 7 - обмотка ограничителя тока; 8 - ускорительная обмотка ограничителя тока; 9 - контакты ограничителя тока; 9 - контакты ограничителя тока; 10 - сопротивление 13 Ом; 11 - сопротивление 90 Ом; 12 - сопротивление 80 Ом; 13 - контакты регулятора напряжения; 14 - выравнивающая обмотка регулятора напряжения; 15 - обмотка регулятора напряжения; 16 - генератор; 17 - обмотка возбуждения генератора; 18 - якорь генератора; 19 - аккумуляторная батарея; 20 - стартер; 21 - контрольная лампа разрядки; 22 - выключатель

Электрическая схема реле-регулятора РР-130 в соединении с генератором и аккумуляторной батареей показана на рис. 2.

Техническое обслуживание реле-регулятора

Проверка регулировки реле-регулятора на автомобиле

Для проверки иметь вольтметр постоянного тока со шкалой 20—З0 в и ценой деления 0,1—0,2 в. а также амперметр постоянного тока со шкалой З0 ампер (желательно с двусторонней шкалой с нулем посредине) и ценой деления 1 ампер или прибор НИИАТ Э-5.

Проверка реле обратного тока

Отъединить провод от зажима «Б» реле-регулятора и между концом этого провода и зажимом «Б» включить амперметр 4 (рис. 3).

Вольтметр 3 включить между зажимом «Я» реле-регулятора и массой.

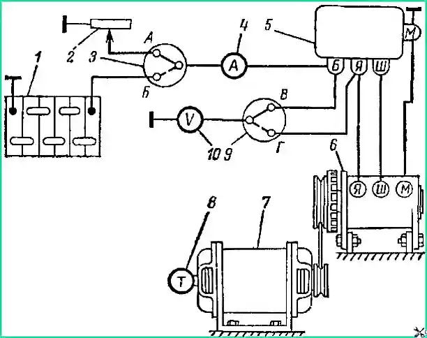
Схема включения приборов для проверки регулятора напряжения и ограничителя тока: 1 - аккумуляторная батарея; 2 - генератор; 3 - вольтметр; 4 - амперметр; 5 - реле-регулятор

Пустить двигатель и, медленно повышая обороты, по отклонению стрелки амперметра определить напряжение, при котором замыкаются контакты реле.

Напряжение должно быть в пределах 12,2-13,2* вольт, а при эксплуатации автомобиля в южных районах регулировка должна быть в пределах 11,5—12,5 вольт.

Уменьшая число оборотов коленчатого вала двигателя, определить по амперметру силу обратного тока в момент размыкания контактов реле.

Сила обратного тока должна быть в пределах 0,5—6 ампер.

Схема включения приборов для проверки реле обратного тока: 1 - аккумуляторная батарея; 2 - генератор; 3 - вольтметр; 4 - амперметр; 5 - реле-регулятор

Проверка ограничителя тока. Измерительные приборы включить, как показано на рис. 4.

Пустить двигатель и довести обороты коленчатого вала до 1600—2000 об/мин, что соответствует движению автомобиля на прямой передаче со скоростью 40-50 км/ч.

Включить все потребители тока и реостатом увеличивать нагрузку на генератор, наблюдая за стрелкой амперметра.

При дальнейшем увеличении нагрузки наступает момент, когда, несмотря на увеличение нагрузки, стрелка амперметра остановится.

Максимальное показание амперметра будет соответствовать регулировке ограничителя тока. Сила ограничиваемого тока должна находиться в пределах 26,5—29,5 ампер.

При проверке ограничителя тока отсчет показаний амперметра производить быстро. В противном случае через 1—2 мин после пуска двигателя сила зарядного тока станет меньше указанной выше величины.

Чтобы при проверке ограничителя тока можно было пользоваться спидометром, задний мост поднять домкратом и поставить на подставки, а под передние колеса подложить упоры.

Проверка регулятора напряжения

Во время работы двигателя надо отключить аккумуляторную батарею. Вольтметр 3 присоединить к клемме «Б» реле-регулятора согласно рис. 4.

При 1600—2000 об/мин коленчатого вала вольтметр должен показывать не более 15,5 вольт.

Если напряжение выше 15,5 вольт, то регулятор подрегулировать.

Если напряжение не превышает указанной величины, включить такое количество потребителей, чтобы нагрузка генератора соответствовала 14 ампер.

Показание вольтметра при этом должно быть 13,8 - 14,8 вольт, а в случае эксплуатации автомобиля в южных районах регулировка должна быть в пределах 13,2—14 вольт.

Неисправности реле-регулятора и способы их устранения

- Причина неисправности

Способ устранения

Нет заряда аккумуляторной батареи:

- подгорание контактов регулятора напряжения или ограничителя тока.

Зачистить контакты и проверить регулировку реле-регулятора

- Обрыв шунтовой обмотки реле обратного тока

Устранить обрыв или заменить катушку

- Нарушена регулировка регулятора напряжения

Отрегулировать регулятор напряжения

Перезаряд или недозаряд аккумуляторной батареи:

- Нарушена регулировка регулятора напряжения

Отрегулировать реле-регулятор

- Спекание контактов регулятора напряжения

Заменить контактную систему

Спекание контактов реле обратного тока:

- Установка генератора с другой полярностью

Заменить контактную систему

Перемагнитить генератор, для чего на 2—3 сек клемму «Ш» подключить на клемму плюс батареи и корпус генератора к клемме минус

Ремонт и регулировка реле-регулятора

Кроме приборов, которые применяются для проверки реле-регулятора на автомобиле, в мастерской надо иметь испытательный стенд, оборудованный электродвигателем, позволяющим плавно изменять обороты якоря генератора не менее, чем до 3000 об/мин, аккумуляторную батарею, реостат (ламповый или проволочный), позволяющий создать нагрузку до 30 ампер в цепи генератора.

Схема простейшего стенда для проверки реле-регулятора: 1 - аккумуляторная батарея; 2 - нагрузочный реостат; 3 - переключатель нагрузок; 4 - амперметр; 5 - реле-регулятор; 6 - генератор; 7 - электродвигатель; 8 - тахометр; 9 - переключатель вольтметра; 10 - вольтметр

Схема простейшего стенда для проверки реле-регулятора показана на рис. 5.

Если реле-регулятор неисправен, то снять крышку и тщательно осмотреть его.

При этом нужно проверить:

- не загрязнен ли реле-регулятор в результате повреждения уплотнительной прокладки и не проникает ли вода под крышку.

В случае необходимости очистить детали от коррозии и грязи и сменить уплотнительную прокладку;

- нет ли ненадежных электрических соединений, механических повреждений деталей или повреждений изоляции катушек вследствие их перегрева.

Устранить замеченные неисправности, а детали, имеющие повреждения, заменить;

- нет ли признаков обгорания и загрязнения контактов.

Высокое переходное сопротивление контактов, возникающее в результате их подгорания или загрязнения, а также ослабление натяжения пружин чаще всего являются причинами нарушения нормальной регулировки реле-регулятора.

В этих случаях для восстановления нормальной работы реле-регулятора достаточно зачистить контакты и отрегулировать каждый из приборов.

Зачищать контакты нужно надфилем или стеклянной шкуркой зернистостью 170.

После зачистки надо удалить пыль и мелкие частицы нагара, протянув между контактами кусок чистой сухой замши или ткани без ворса, смоченной в спирте.

Применять для зачистки контактов наждачную шкурку запрещается;

  • - исправны ли сопротивления и надежно ли их крепление. Неисправные сопротивления заменить;
  • - плотно ли затянуты гайки крепления сердечников катушек к основанию;
  • - нормальной ли величины зазоры между контактами и между якорями и сердечниками регулятора напряжения и ограничителя тока. Если требуется, отрегулировать зазоры.

При замерах зазоров между якорем и сердечником иметь в виду, что зазор надо измерять от якоря до сердечника, а не до латунной заклепки, которая предназначена для предохранения якоря от «прилипания» к сердечнику при притягивании.

Регулировка зазоров реле-регулятора

У реле обратного тока (РОТ) зазор «А» (рис. 6) между якорем 4 и диамагнитной шайбой сердечника 3 должен быть 0,6—0,8 мм при разомкнутых контактах и в момент замыкания контактов 0,2—0,3 мм.

Зазор «В» между контактами должен быть не менее 0,25 мм.

Величина зазоров реле-регулятора: 1 - стойка; 2 - пружина; 3 - сердечник; 4 - якорь; 5 - ограничитель хода якоря; 6 - стойка с неподвижным контактом реле обратного тока; 7 - стойка с неподвижным контактом ограничителя; 8 - винт крепления стойки пружины; 9 - винт крепления стойки неподвижного контакта; 10 - ярмо

Зазор между якорем и диамагнитной шайбой изменяют подгибанием ограничителя 5 хода якоря.

Зазор между контактами изменяют подгибанием стойки нижних контактов.

У регулятора напряжения (РН) и ограничителя тока (ОТ), зазоры «В» и «Д» между якорем и сердечником при замкнутых контактах должны быть в пределах 1,35—1,55 мм.

Для регулировки указанных зазоров отпустить винты крепления стойки верхнего контакта и перемещением ее установить нужный зазор.

Зазор «Г» у регулятора напряжения между серьгой и якорем должен быть 0,2—0,35 мм.

После сборки и регулировки зазоров реле-регулятор проверить и при необходимости подрегулировать.

Регулировка реле обратного тока. Установить реле-регулятор на стенд и подключить его согласно схеме, показанной на рис. 5.

Переключатель 3 перевести в положение «Б», а переключатель 9 в положение «Г».

Включить электродвигатель и, медленно повышая обороты якоря генератора, заметить, при каком напряжении включается реле обратного тока.

Момент включения определяется по отклонению стрелки амперметра.

Если напряжение включения реле обратного тока не соответствует требуемому значению, то отрегулировать его натяжением пружины и подгибанием стойки пружины.

После регулировки реле обратного тока проверить несколько раз, для чего, снижая обороты якоря генератора, по амперметру заметить силу тока, при котором контакты реле разомкнутся.

Регулировка регулятора напряжения

Для регулировки переключить переключатель 3 (см. рис. 5) в положение «А», а переключатель 9 в положение «В».

Повысить обороты якоря генератора до 3000 об/мин.

Реостатом 2 создать нагрузку 14 ампер.

Если регулируемое напряжение не соответствует требуемым величинам, то его необходимо отрегулировать натяжением пружины.

Регулировка ограничителя тока

Включение приборов и обороты якоря генератора остаются такие же, что при проверке регулятора напряжения.

Реостатом создают нагрузку 28 ампер, наблюдая по амперметру, после какой величины сила тока перестает увеличиваться при дальнейшем уменьшении сопротивления реостата.

Сила тока должна находиться в пределах 26,5—29,5 ампер.

Величину ограничиваемой силы тока регулируют натяжением пружины аналогично регулятору напряжения.

После регулировки на реле-регулятор надеть крышку и провести повторную проверку всех приборов.